样品
成果详情
| 项目简介 | |||||
|---|---|---|---|---|---|
| 技术简介: | |||||
| 专利类型: | 实用新型 | 专利申请号: | CN202322639829.3 | 公开号: | CN221358213U |
| 专利权人: | 南方医科大学珠江医院 | 发明设计人: | 米向斌;张苑;吴静;周选 | ||
| 所属领域: | |||||
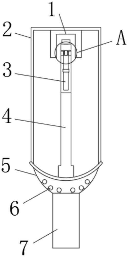
| 摘要: | 本实用新型公开了一种更换探针头的电离子治疗仪手柄,具体涉及电离子设备技术领域,包括本体,所述本体包括手柄以及安装于手柄顶端的手柄长杆,所述手柄长杆包括可插入手柄长杆内的治疗探头和安装于手柄长杆外壁的超声波探头,所述治疗探头的底部设置有插块,所述手柄长杆内设置有与插块相配合的插槽,所述插槽上设置有滑槽和固定孔,且滑槽与固定孔相连通;通过设置手柄长杆,由手柄长杆上的治疗探头和超声波探头配合使用,可实现将治疗仪手柄深入阴道中进行治疗,并探测具体病变的位置,对病变组织进行准确的治疗,使得对妇科疾病进行治疗时,更加快捷方便;治疗探头直接插入至手柄长杆,从而便于更换。 | ||||
| 补充信息 | |||||
| 转让方式: | 成熟度: | 预估价值: | |||
| 市场前景: | |||||