样品
成果详情
| 项目简介 | |||||
|---|---|---|---|---|---|
| 技术简介: | |||||
| 专利类型: | 实用新型 | 专利申请号: | CN202220735399.8 | 公开号: | CN217338691U | 
| 专利权人: | 南方医科大学南方医院 | 发明设计人: | 郭莲莲 | ||
| 所属领域: | |||||
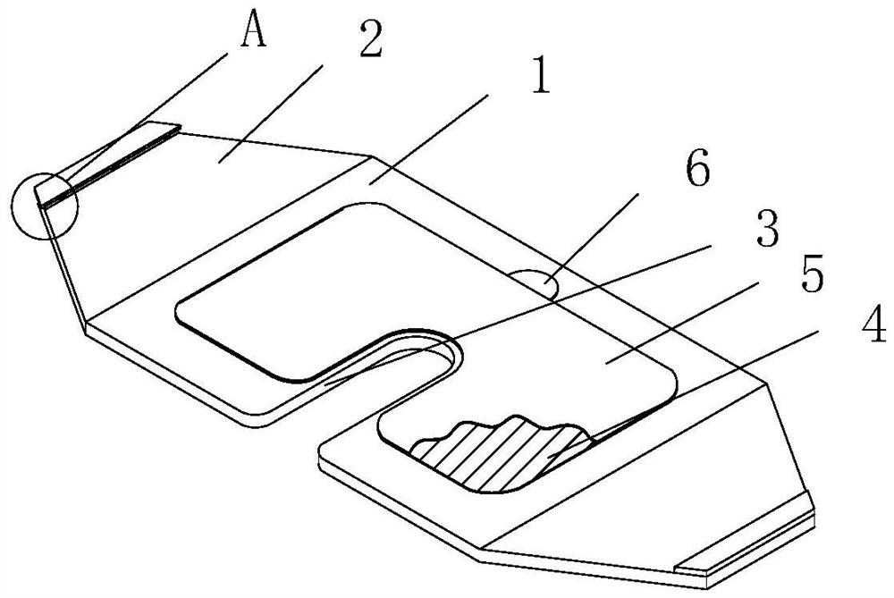
| 摘要: | 本实用新型公开了一种具有防移位结构的动脉留置针按压止血装置,包括:按压止血贴,所述按压止血贴的左右两侧固定对称设有侧贴纸,所述侧贴纸的顶端上壁设有第二粘胶涂层,所述第二粘胶涂层的上方设有第二防护贴纸;滞留针定位口,其开设在所述按压止血贴的前端中心内部,所述按压止血贴的上表面设有第一粘胶涂层,所述第一粘胶涂层的上方设有第一防护贴纸。本实用新型通过把第二防护贴纸扯开,可以通过第二粘胶涂层把两个侧贴纸紧紧的贴在胳膊两侧,从而可以保证整体装置的稳定性,通过把消毒棉球塞到安装槽内部,之后把按压块按压到滞留针定位口内部,以此可以使消毒棉球与针眼贴合在一起,从而起到按压的作用。 | ||||
| 补充信息 | |||||
| 转让方式: | 成熟度: | 预估价值: | |||
| 市场前景: | |||||