样品
成果详情
| 项目简介 | |||||
|---|---|---|---|---|---|
| 技术简介: | |||||
| 专利类型: | 实用新型 | 专利申请号: | CN201821324225.2 | 公开号: | CN209485831U |
| 专利权人: | 南方医科大学;广东顺德南方医大科技园有限公司 | 发明设计人: | 邹和群;邹子良;哈瑞·赫斯奥夫;周琴;吴碧芳;李小琳;宁靖 | ||
| 所属领域: | |||||
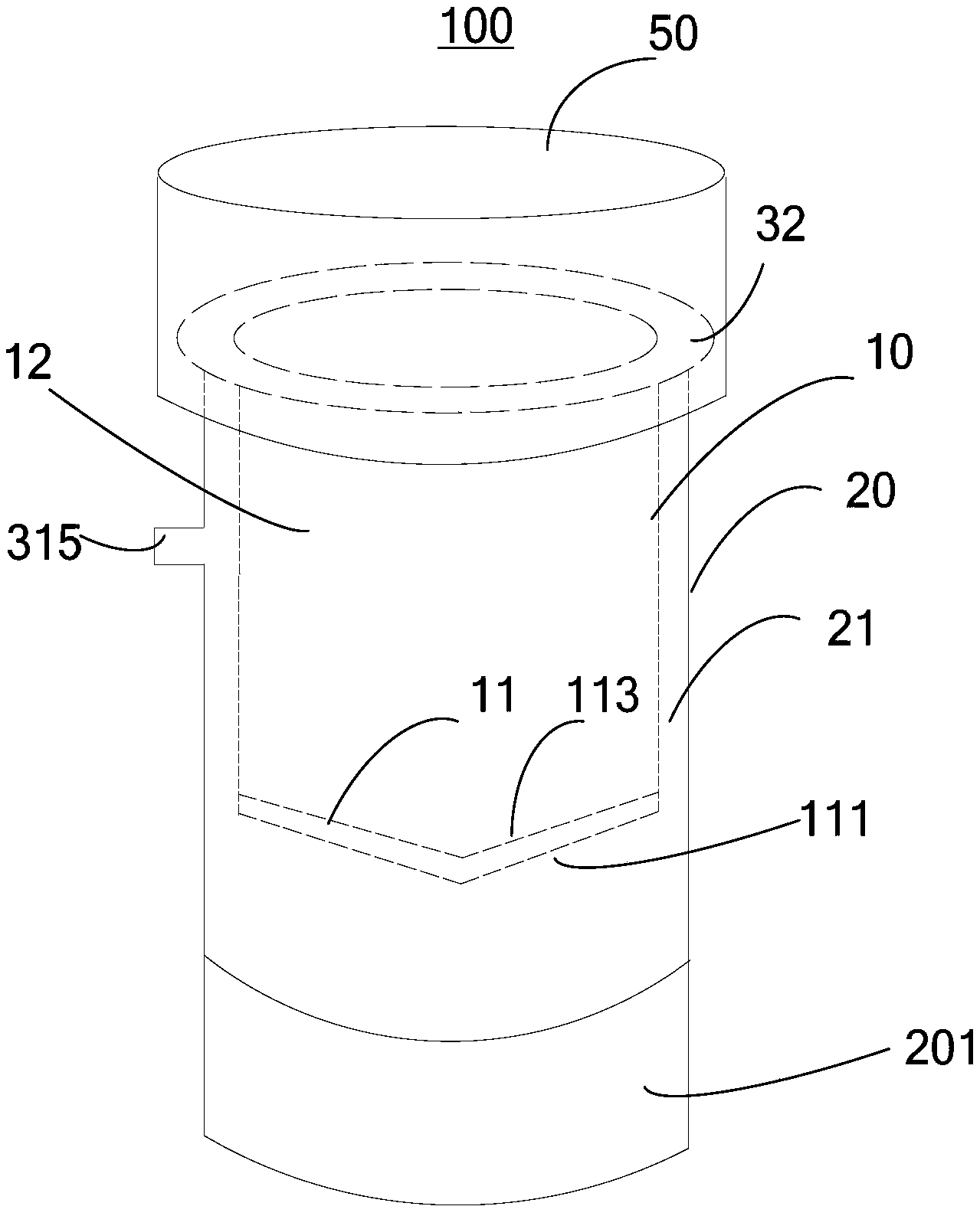
| 摘要: | 本实用新型装置适用于医疗技术领域,是一种医院使用的尿液细胞外囊泡富集装置,可用于慢性疾病早期诊断的无创性液体活检。该装置包括:过滤器,设置于所述装置的上端,包括溶液腔和过滤层,将尿液样本的上清液加入所述溶液腔后,截留大于所述过滤层的孔径的细胞外囊泡,滤过小于所述细胞外囊泡孔径的其他尿液成分;废液收集器,具有容置所述尿液中的小于所述细胞外囊泡孔径的其他尿液成分的收集腔,并且所述废液收集器套接于所述过滤器的外侧;所述废液收集器侧壁上设置有真空吸气接口;负压组件,连接于所述真空吸气接口,将所述废液收集器和所述过滤器之间抽吸为预设的负压。借此,本实用新型实现了尿液细胞外囊泡便捷提取。 | ||||
| 补充信息 | |||||
| 转让方式: | 成熟度: | 预估价值: | |||
| 市场前景: | |||||