样品
成果详情
| 项目简介 | |||||
|---|---|---|---|---|---|
| 技术简介: | |||||
| 专利类型: | 发明 | 专利申请号: | CN202011436873.9 | 公开号: | CN112603433A |
| 专利权人: | 南方医科大学南方医院 | 发明设计人: | 许波;宿爱山;蒋琳;李丹;朱程宁;陈洁 | ||
| 所属领域: | |||||
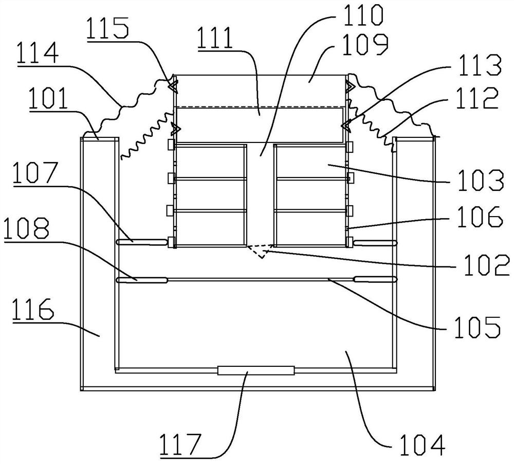
| 摘要: | 本发明公开了用于按压冷敷止血的反应器,反应器包括外壳和储存装置,外壳内的底部设置有反应腔,反应腔装有溶液一,反应腔的顶部设置有第一封膜,外壳设置有夹层,夹层装有硫酸盐溶液,外壳内的底壁设置有第二封膜;储存装置可上下移动地设置在外壳中,储存装置的底部设置有穿刺部,储存装置设置有多个储存部,储存部包括多个储存格,储存格装有固态物质,储存格的外侧壁设置有连通反应腔的连通口。按压储存装置,穿刺部刺破第一封膜,固态物质与溶液一反应制冷,加快止血,防止出现淤血。继续按压储存装置,穿刺部刺破第二封膜,硫酸盐溶液用于吸收反应产物。本发明可广泛应用于医疗器械技术领域。 | ||||
| 补充信息 | |||||
| 转让方式: | 成熟度: | 预估价值: | |||
| 市场前景: | |||||