样品
成果详情
| 项目简介 | |||||
|---|---|---|---|---|---|
| 技术简介: | |||||
| 专利类型: | 实用新型 | 专利申请号: | CN202020902610.1 | 公开号: | CN213157256U |
| 专利权人: | 南方医科大学南方医院 | 发明设计人: | 许丽清;魏红云;刘文茜;欧庆;李雪华;朱方圆;李裕城;史秀英;颜文娟 | ||
| 所属领域: | |||||
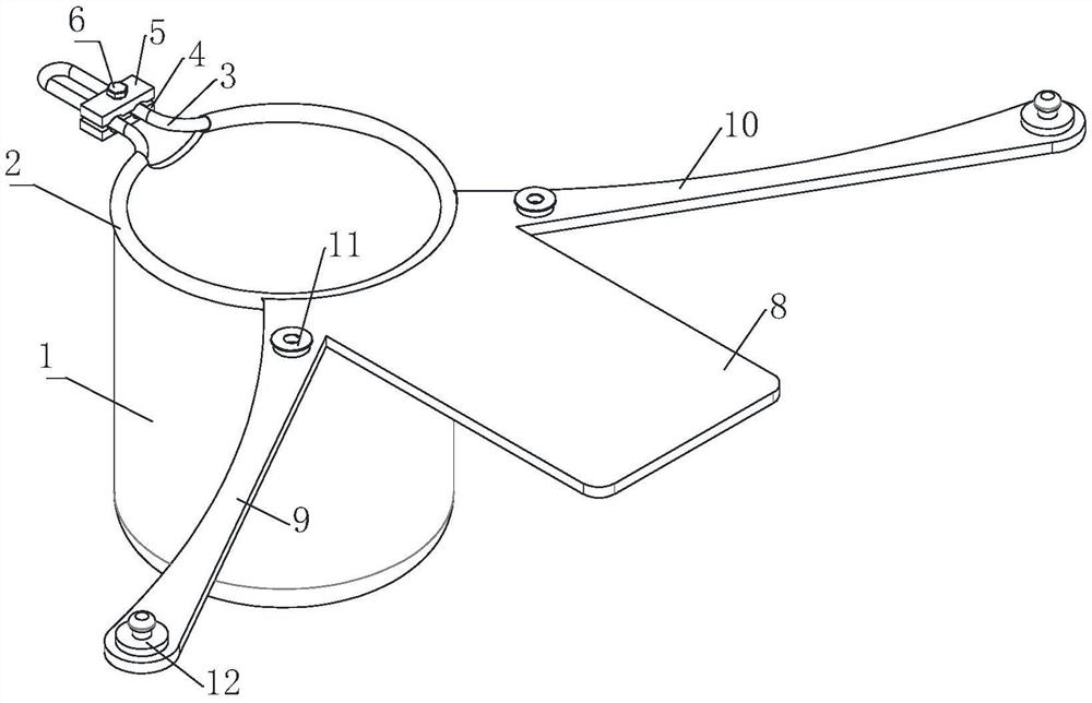
| 摘要: | 本实用新型公开了一种适用于危重患者的床上洗头装置,该床上洗头装置创新性的在防水袋的上端设计了安装套,并在安装套的内部安装了可以调整大小的金属塑性条,并通过下压块和上压块将金属塑性条压住,再通过锁紧螺栓和螺母将下压块和上压块锁紧,可根据病人头部大小调节防水袋的开口大小,并设计了与防水袋相连接的背垫,以及在背垫的左右两侧设计了左卡扣布和右卡扣布分别安装了底凹扣和上凸扣,在使用时,可将该装置的背垫塞入病人背部和枕头之间用以防水,并利用左、右卡扣布从病人双肩腋窝处穿出并通过底凹扣和上压扣固定,该装置可方便护理人员对危重患者头发的清理,又可避免病患之间的交叉感染,具有结构简单、使用方便及成本低廉的特点。 | ||||
| 补充信息 | |||||
| 转让方式: | 成熟度: | 预估价值: | |||
| 市场前景: | |||||