样品
成果详情
| 项目简介 | |||||
|---|---|---|---|---|---|
| 技术简介: | |||||
| 专利类型: | 实用新型 | 专利申请号: | CN202022149566.4 | 公开号: | CN213491239U |
| 专利权人: | 南方医科大学南方医院 | 发明设计人: | 吴瑜瑜 | ||
| 所属领域: | |||||
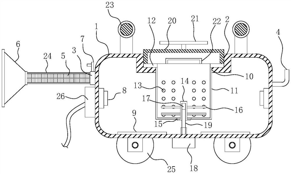
| 摘要: | 本实用新型涉及医用雾化装置领域。目的在于提供一种能够提高工作效率的多功能产科用雾化装置,包括箱体,所述箱体的顶面设置有顶槽,箱体一端的上部设置有连接管,另一端的上部设置有补水管;所述连接管通过软管与漏斗状的气罩连通,连接管内设置有阀门;所述箱体两端的内侧壁上还设置有超声波雾化器,箱体底部的内表面上设置有电加热管;所述顶槽底面的中心设置有安装孔,所述安装孔内设置有与安装孔相配合的药桶;所述药桶顶部的边沿设置有一圈环形的托边,所述托边放置在顶槽的底面上;所述药桶的侧壁上均匀设置有若干小孔;本实用新型具备熬药、过滤、搅拌、雾化的一体化功能,便于医护人员进行雾化熏蒸,简化了操作、提高了工作效率。 | ||||
| 补充信息 | |||||
| 转让方式: | 成熟度: | 预估价值: | |||
| 市场前景: | |||||