样品
成果详情
| 项目简介 | |||||
|---|---|---|---|---|---|
| 技术简介: | |||||
| 专利类型: | 发明 | 专利申请号: | CN202411413900.9 | 公开号: | CN118902569A |
| 专利权人: | 南方医科大学南方医院 | 发明设计人: | 梁芳果;王健 | ||
| 所属领域: | |||||
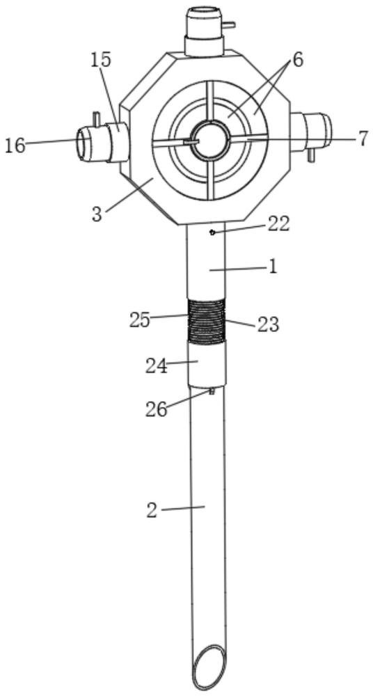
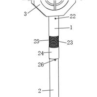
| 摘要: | 本发明涉及外科用具技术领域,具体为一种可调节的灌注针及其操作方法,包括外安装管,所述外安装管内活动插接有内伸缩管,所述外安装管的顶部固定安装有矩形安装架,所述外安装管内设置有锥形波纹管。外卡套和对应位置的内嵌入套接触,从而带动角度可调管移动,角度可调管和对应位置的连接插管对应,移动对应位置的连接插管,内嵌入套卡合在外卡套内,外卡套和内嵌入套的对接,角度可调管和对应位置的连接插管对接,能够适应各种复杂和特殊的使用情况,无论是空间狭窄、布局不规则还是存在其他限制条件,都能确保与灌注针连通管道的竖直和笔直,防止与灌注针连通的管道受压,影响灌注液体的输送,确保液体输送的稳定性。 | ||||
| 补充信息 | |||||
| 转让方式: | 成熟度: | 预估价值: | |||
| 市场前景: | |||||