样品
成果详情
| 项目简介 | |||||
|---|---|---|---|---|---|
| 技术简介: | |||||
| 专利类型: | 实用新型 | 专利申请号: | CN202320780972.1 | 公开号: | CN220404539U |
| 专利权人: | 南方医科大学南方医院 | 发明设计人: | 陈星;林天晓;彭勤宝 | ||
| 所属领域: | |||||
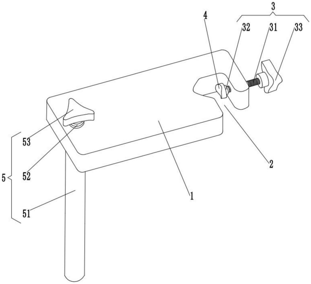
| 摘要: | 本实用新型公开了一种体外膜肺氧合转运支架,包括:支撑板、凹槽、驱动件、卡板及支撑件;所述支撑板第一端向内凹陷形成固定凹槽,所述驱动件水平设置于所述支撑板上,与所述驱动件第一端相连接的卡板位于所述凹槽内,所述驱动件能够带动所述卡板与体外膜肺氧合主机连接;本实用新型的有益效果是通过在支撑板的一侧开设有凹槽,凹槽内安装有卡板及带动卡板移动的驱动件及在支撑板的另一侧上安装有支撑件,便于将体外膜肺氧合控制面板、外膜肺氧合氧合器及外膜肺氧合驱动单元固定在支撑件5上,从而将其形成一体化安装,便于患者外出转运检查、转院救治等情况。 | ||||
| 补充信息 | |||||
| 转让方式: | 成熟度: | 预估价值: | |||
| 市场前景: | |||||