样品
成果详情
| 项目简介 | |||||
|---|---|---|---|---|---|
| 技术简介: | |||||
| 专利类型: | 实用新型 | 专利申请号: | CN202021564401.7 | 公开号: | CN214239565U |
| 专利权人: | 南方医科大学深圳医院 | 发明设计人: | 李修往;叶灼烽;吴家昌;桑宏勋;林云志;庄伟达;赖国华;郭利利 | ||
| 所属领域: | |||||
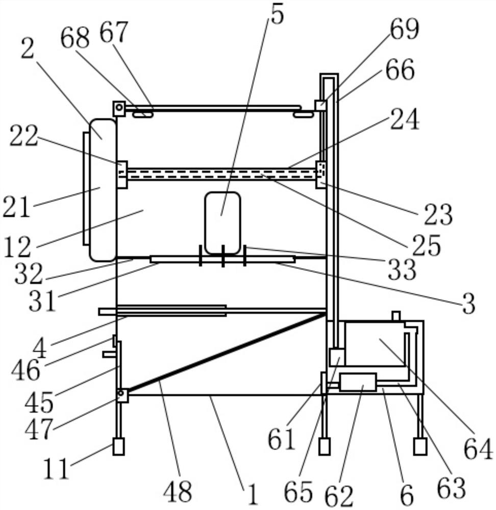
| 摘要: | 本实用新型公开了一种3D打印工件残留树脂清洗装置,包括:清洗机主体、清洗装置、支撑装置和过滤装置,所述清洗机主体呈中空的圆筒形结构,所述清洗机主体的下端设置有若干支撑脚,所述清洗机主体内形成有一清洗空腔,所述清洗空腔的上部设置有所述清洗装置,所述清洗空腔的中部设置有所述支撑装置,所述支撑结构上放置有待清洗工件,所述清洗空腔的下部设置有所述过滤装置。通过对本实用新型的应用,可对3D打印工件的表面残留的树脂进行快速且全面清洗,提高了生产效率,避免了劳动力的浪费。 | ||||
| 补充信息 | |||||
| 转让方式: | 成熟度: | 预估价值: | |||
| 市场前景: | |||||