样品
成果详情
| 项目简介 | |||||
|---|---|---|---|---|---|
| 技术简介: | |||||
| 专利类型: | 实用新型 | 专利申请号: | CN202221308124.2 | 公开号: | CN218527781U |
| 专利权人: | 南方医科大学南方医院 | 发明设计人: | 董维桃;甄莉;文梅;周艳 | ||
| 所属领域: | |||||
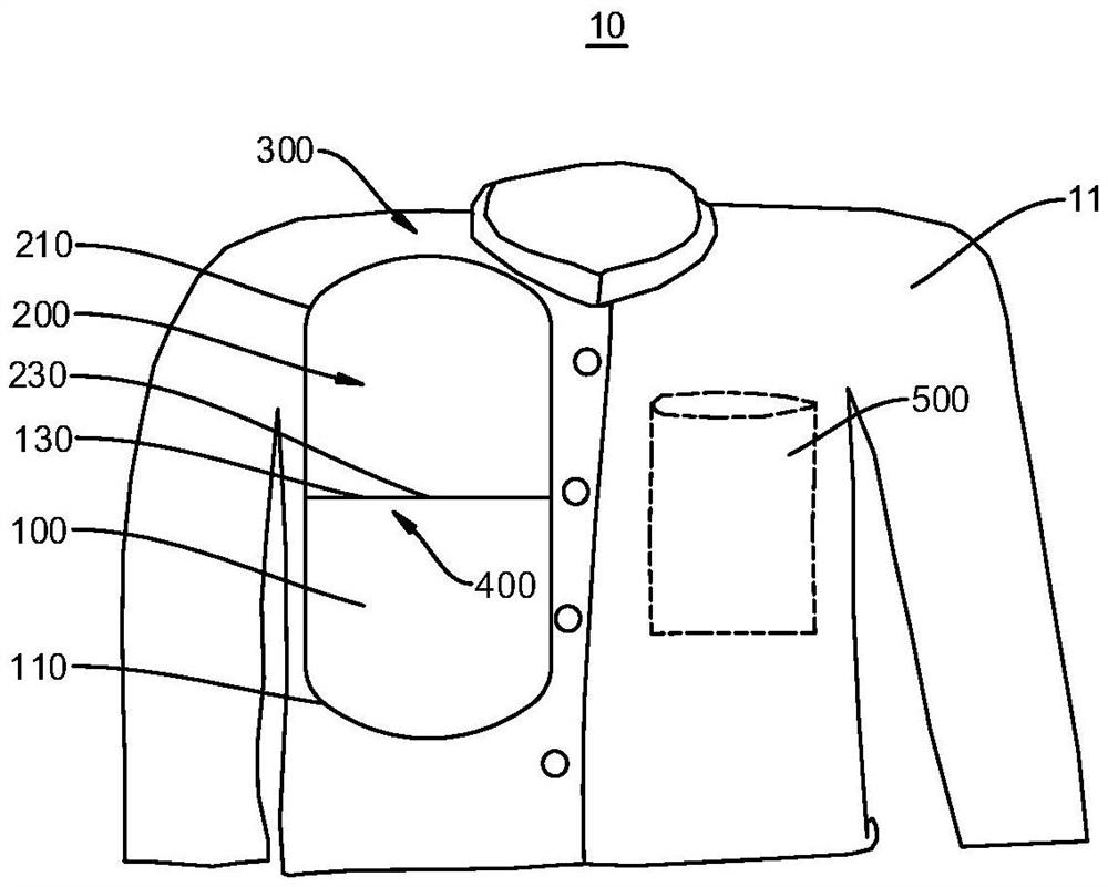
| 摘要: | 本实用新型提供了一种输液港专用病号服,涉及医疗器械技术领域。输液港专用病号服包括病号服本体和衣盖。病号服本体开设有洞口,洞口用于露出患者的输液港部位。衣盖的形状与洞口的形状适配,衣盖与洞口的顶部或底部连接,衣盖用于关闭或打开洞口。衣盖的边缘设置有第一连接部,洞口的边缘设置有第二连接部,第一连接部与第二连接部可拆卸地连接。因此本实用新型结构简单,衣盖打开方式方便且快捷,便于医护人员进行操作或观察。 | ||||
| 补充信息 | |||||
| 转让方式: | 成熟度: | 预估价值: | |||
| 市场前景: | |||||