样品
成果详情
| 项目简介 | |||||
|---|---|---|---|---|---|
| 技术简介: | |||||
| 专利类型: | 实用新型 | 专利申请号: | CN201920519306.6 | 公开号: | CN210301764U |
| 专利权人: | 南方医科大学南方医院 | 发明设计人: | 丁静;廖卫华;徐慧颖;吴宏丽;李园芳;方晓英;冯苏敏 | ||
| 所属领域: | |||||
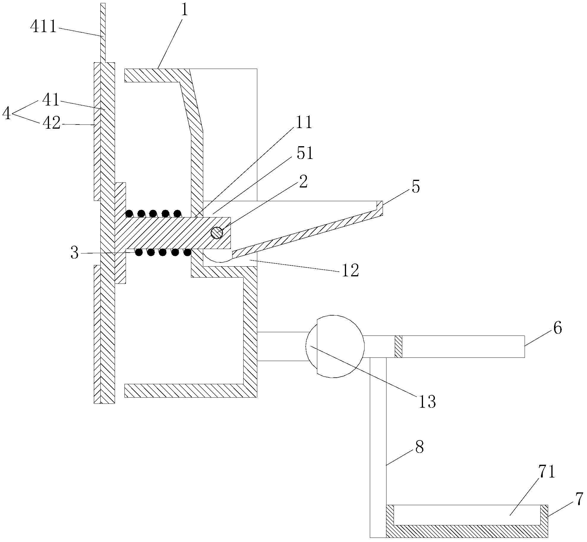
| 摘要: | 本实用新型公开了一种温箱内用奶瓶固定装置,包括一固定座,所述固定座上开有贯通左右侧面的一安装孔,安装孔处安装有一轴部,轴部的左端与固定座的左侧之间弹性压缩有一弹簧,弹簧套装在轴部上,轴部的左端还固定连接有一粘贴固定部,轴部的右端伸出安装孔的右端外并且铰接连接一操作手柄,操作手柄具有压下使固定座紧压粘贴固定部的第一状态和拨起使固定座离开粘贴固定部的第二状态,固定座的右侧铰接连接有奶瓶夹,奶瓶夹的下侧固定连接有奶瓶底托。本实用新型的温箱内用奶瓶固定装置能避免奶瓶倾倒。 | ||||
| 补充信息 | |||||
| 转让方式: | 成熟度: | 预估价值: | |||
| 市场前景: | |||||