样品
成果详情
| 项目简介 | |||||
|---|---|---|---|---|---|
| 技术简介: | |||||
| 专利类型: | 实用新型 | 专利申请号: | CN201920788607.9 | 公开号: | CN210165560U |
| 专利权人: | 南方医科大学珠江医院 | 发明设计人: | 吕明花;朱艳;李申恒;廖华 | ||
| 所属领域: | |||||
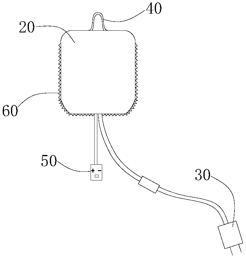
| 摘要: | 本实用新型公开了一种悬挂式腹膜透析液加热保温袋,包括用于包裹腹膜透析液袋的袋体,所述袋体包括内层、中间防水层和外层;所述内层中设置有碳纤维发热膜和热探头感应器;所述外层上安装有双头拉链;所述袋体外设有与所述碳纤维发热膜连接的电源适配器。本实用新型通过碳纤维发热膜对腹膜透析液进行持续供热,保证腹膜透析液的温度保持在恒定的人体温度,从而提高透析效率,操控简单。另外,本实用新型的悬挂式腹膜透析液加热保温袋体积小、重量轻、防水、可悬挂,使用地点可随意更换,移动,并且可以折叠,易于收藏携带,住院和居家腹膜透析病人均适合使用,具有较大的推广价值。 | ||||
| 补充信息 | |||||
| 转让方式: | 成熟度: | 预估价值: | |||
| 市场前景: | |||||