样品
成果详情
| 项目简介 | |||||
|---|---|---|---|---|---|
| 技术简介: | |||||
| 专利类型: | 实用新型 | 专利申请号: | CN202021436961.4 | 公开号: | CN213407267U |
| 专利权人: | 南方医科大学南方医院 | 发明设计人: | 黄榕;郭萍;侯晓敏;郭亚云;宋洁 | ||
| 所属领域: | |||||
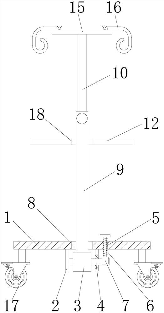
| 摘要: | 本实用新型公开了折叠式移动输液架,包括底板,所述底板底部的两侧均固定连接有支撑板,所述支撑板的表面通过转轴活动连接有连接管,所述连接管的右端固定连接有方杆,所述方杆的右端贯穿右侧的支撑板并与支撑板活动连接,所述底板顶部的右侧开设有螺纹孔,所述螺纹孔的顶部贯穿设置有第一螺纹杆。本实用新型具备可折叠减小占据空间,便于携带,可调节高度,便于放置物品的优点,解决了现有的输液架结构简单,不具有折叠的功能,使得输液架占据空间大,不便于输液架的携带,不能够调节高度,从而不便于挂接吊瓶,没有支撑结构,不便于放置物品,降低了输液架的适用性,不便于人们使用的问题。 | ||||
| 补充信息 | |||||
| 转让方式: | 成熟度: | 预估价值: | |||
| 市场前景: | |||||