样品
成果详情
| 项目简介 | |||||
|---|---|---|---|---|---|
| 技术简介: | |||||
| 专利类型: | 实用新型 | 专利申请号: | CN201720596677.5 | 公开号: | CN207519686U |
| 专利权人: | 南方医科大学珠江医院 | 发明设计人: | 胡佳;周萍;吴源周;何巧芳;周庆祝;石娅;陈秋平 | ||
| 所属领域: | |||||
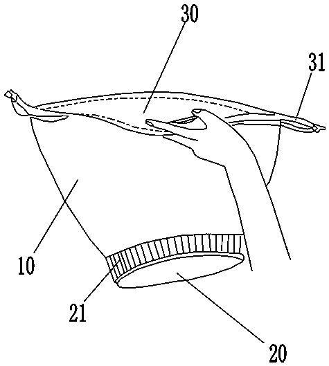
| 摘要: | 本实用新型公开了一种医用个体化可调节手术帽,包括帽体,该帽体的主体部位形成一容纳使用者头部的环状容纳腔,帽体的底部为套接于使用者头部的帽口,帽体的顶部设置为开放式的锁口结构,所述环状容纳腔位于所述帽口与锁口结构之间;所述帽口处缝制有将帽体套接固定于使用者头部的松紧带,所述锁口结构中穿插设置有能将开放式的锁口结构锁紧或者放松的非弹性伸缩束紧带,所述帽体在松紧带自然收缩且锁口结构未锁紧时呈上宽下窄的扇形结构。本实用新型的医用个体化可调节手术帽,佩戴方便、能够可调整地适用于各种尺寸头型的患者,且方便在帽体包覆头部后对使用者头发等容易凌乱的部位进行再次或多次的整理和收纳。 | ||||
| 补充信息 | |||||
| 转让方式: | 成熟度: | 预估价值: | |||
| 市场前景: | |||||