样品
成果详情
| 项目简介 | |||||
|---|---|---|---|---|---|
| 技术简介: | |||||
| 专利类型: | 实用新型 | 专利申请号: | CN202021107367.0 | 公开号: | CN212940710U |
| 专利权人: | 南方医科大学南方医院 | 发明设计人: | 罗笑婷;王莉慧;曹彩玲;戴娟 | ||
| 所属领域: | |||||
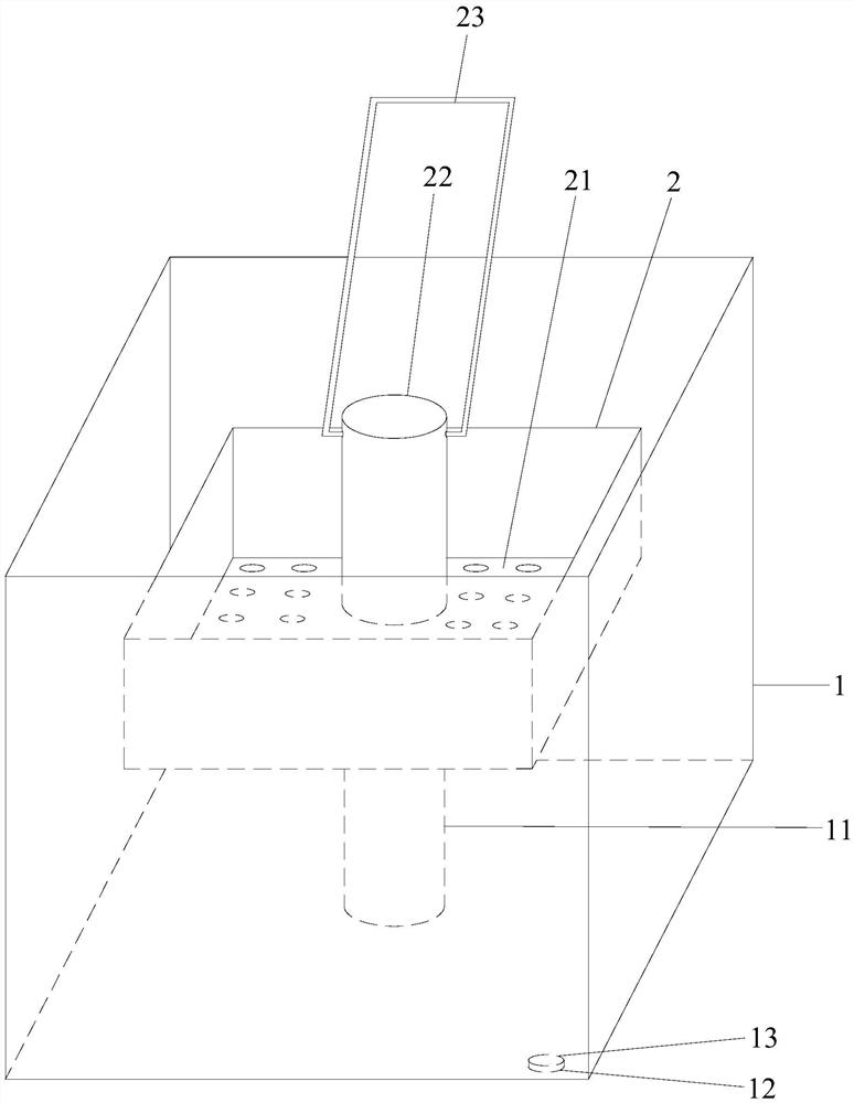
| 摘要: | 本实用新型公开了一种新型的体温计浸泡容器,包括顶部敞口的外盒体,所述外盒体内中心固定有立柱,还包括镂空式的内盒体,内盒体内中心固定有套筒,套筒的上端封闭、下端敞口,套筒的下端敞口处位于内盒体的外底部中心,立柱套入套筒内。本实用新型的新型的体温计浸泡容器可减少酒精浸泡液的污染和浪费。 | ||||
| 补充信息 | |||||
| 转让方式: | 成熟度: | 预估价值: | |||
| 市场前景: | |||||