样品
成果详情
| 项目简介 | |||||
|---|---|---|---|---|---|
| 技术简介: | |||||
| 专利类型: | 实用新型 | 专利申请号: | CN202222655353.8 | 公开号: | CN218464439U |
| 专利权人: | 南方医科大学南方医院 | 发明设计人: | 王乐;马云 | ||
| 所属领域: | |||||
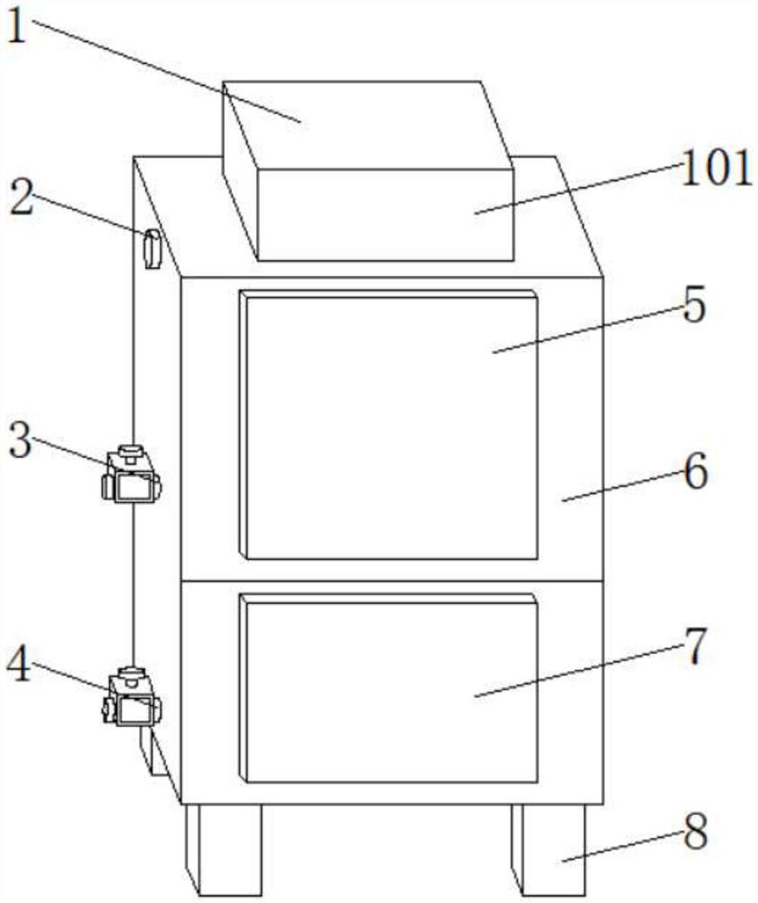
| 摘要: | 本实用新型公开了一种医用配药储存装置,包括箱体,箱体的内部上端设置有搅拌腔,搅拌腔的内部上端两侧均开设有进料管,且进料管与搅拌腔的内部相连通,进料管的端口活动设置有限位塞,两组进料管之间设置有传动组件,搅拌腔的一侧固定连接有取样管,且取样管与搅拌腔的内部相连通,搅拌腔的底部设置有储存腔。本实用新型通过设置的有取样管、下料口、搅拌腔、下料阀、储存腔和传动组件,可以实现对药剂进行双重搅拌,可以提高搅拌的效率,通过取样管可以对药剂进行审核,审核通过后将配药后的药剂会进入储存腔内进行储存,工作人员只需将药剂量控制好即可,不仅操作简单,而且减轻了工作人员的工作量。 | ||||
| 补充信息 | |||||
| 转让方式: | 成熟度: | 预估价值: | |||
| 市场前景: | |||||