样品
成果详情
| 项目简介 | |||||
|---|---|---|---|---|---|
| 技术简介: | |||||
| 专利类型: | 实用新型 | 专利申请号: | CN202223275774.4 | 公开号: | CN218944290U |
| 专利权人: | 南方医科大学珠江医院 | 发明设计人: | 韩娜 | ||
| 所属领域: | |||||
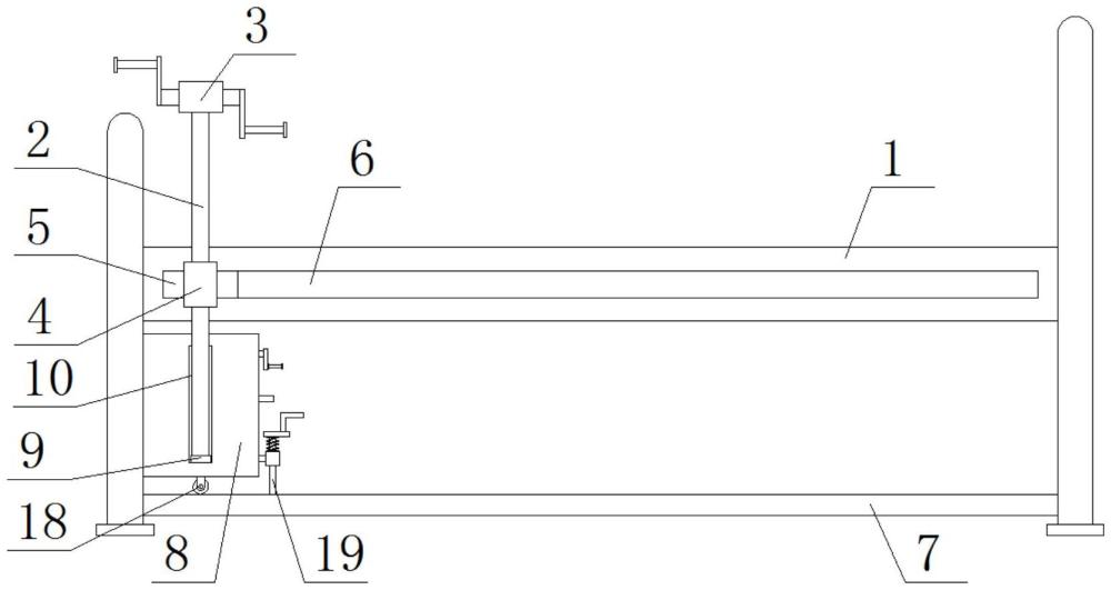
| 摘要: | 本实用新型属于医疗器械技术领域,尤其是一种层流仓内床边锻炼辅助架,针对现有技术中存在锻炼装置上的辅助架一般都是固定的,不能够进行高度调节,不能够适应不同身高的患者使用,另外也不能够进行横向调节,因此还存在当患者只能够坐在床上锻炼时,不能根据患者的使用需要移动到患者的身边,导致患者使用不便的问题,现提出如下方案,其包括床体和支架,所述床体的前侧开设有滑槽,所述滑槽的内部滑动连接有滑块,所述滑块的前侧固定连接有滑环,所述滑环滑动套设在支架上,本实用新型通过简单的结构实现了对该辅助架的高度调节和横向位置调节,使锻炼装置能够配合患者的使用需求进行使用,使用性和适应性强。 | ||||
| 补充信息 | |||||
| 转让方式: | 成熟度: | 预估价值: | |||
| 市场前景: | |||||