样品
成果详情
| 项目简介 | |||||
|---|---|---|---|---|---|
| 技术简介: | |||||
| 专利类型: | 发明 | 专利申请号: | CN202110639842.1 | 公开号: | CN113393724A |
| 专利权人: | 南方医科大学深圳医院 | 发明设计人: | 陈凌武 | ||
| 所属领域: | |||||
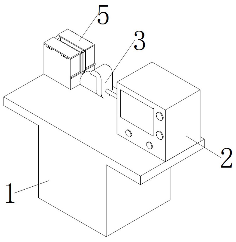
| 摘要: | 一种新入科手术室护士电外科手术设备培训装置,包括安装台,所述安装台的上端右部固定安装有手术设备,所述手术设备的左端下部固定安装有接线装置,所述接线装置的内部设置有接线块,所述接线块的左端固定连接有连接线,所述连接线的左端固定连接有操作装置,所述安装台的上端左部固定安装有消毒装置,所述操作装置的左部位于消毒装置的内部。本发明通过设置的消毒装置,使得操作装置装置处于密封的消毒空间内进行储存,并且进入到消毒装置内部时将会进行再次的消毒,从而使得整个装置更加的干净,并且能够避免因装置表面内部细菌过多导致交叉感染,并且在培训时使用能够减少护士对物品的消毒难度,而且能够增加培训的效果。 | ||||
| 补充信息 | |||||
| 转让方式: | 成熟度: | 预估价值: | |||
| 市场前景: | |||||