样品
成果详情
| 项目简介 | |||||
|---|---|---|---|---|---|
| 技术简介: | |||||
| 专利类型: | 实用新型 | 专利申请号: | CN202123163921.4 | 公开号: | CN217447746U |
| 专利权人: | 南方医科大学珠江医院 | 发明设计人: | 彭冬先;陈洁;王苹苹;黄雪梅;黄钰婷;廖琼秀 | ||
| 所属领域: | |||||
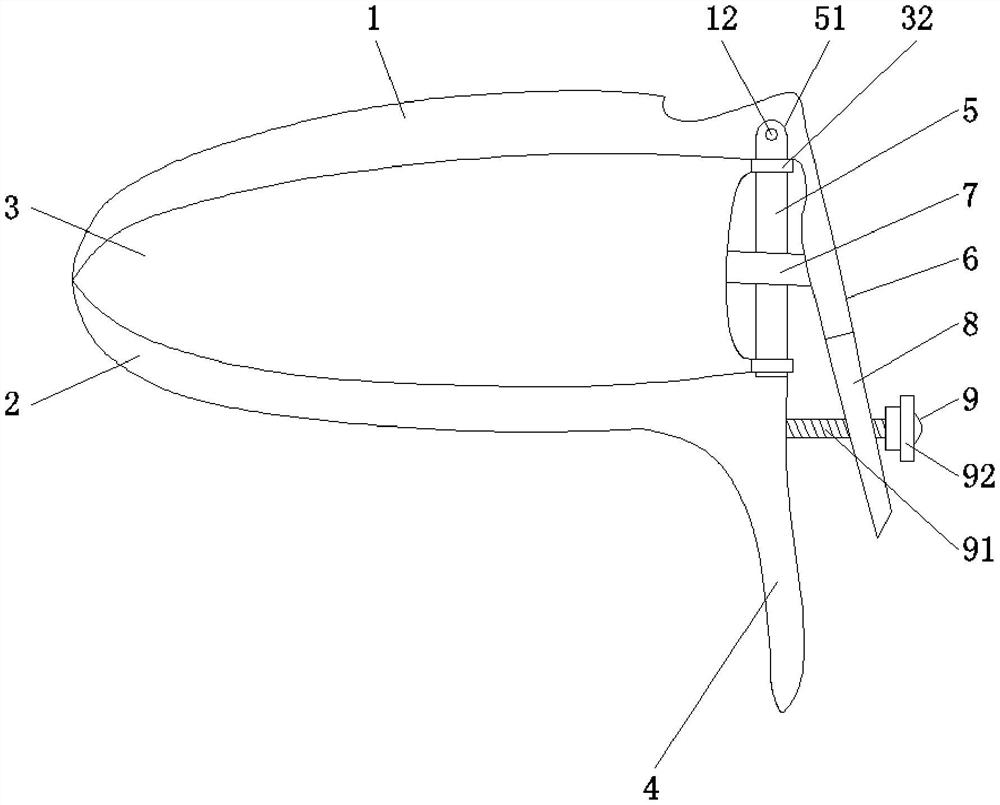
| 摘要: | 本实用新型公开了一种四叶窥阴器。一种四叶窥阴器,包括包括上叶片和下叶片,所述上叶片和下叶片铰接连接,其中,在所述上叶片和下叶片的两侧设有侧叶片,所述下叶片的尾端底部一体设有手柄,在所述下叶片的尾端上部设有一对连接轴,两个所述侧叶片分别与两个连接轴铰接,以及,所述上叶片与连接轴的上端铰接,在所述上叶片的尾端设有一对驱动柄,在两个所述侧叶片的内侧均设有驱动杆,两个所述驱动杆的另一端分别经对应连接轴外侧与相应驱动柄接触,在一个所述驱动柄的尾端设有固定杆,所述手柄上设有能够固定所述固定杆的调节组件。本实用新型一种四叶窥阴器,操作简单方便,能够提供良好的宫颈暴露条件和有利于临床医生进行手术操作。 | ||||
| 补充信息 | |||||
| 转让方式: | 成熟度: | 预估价值: | |||
| 市场前景: | |||||