样品
成果详情
| 项目简介 | |||||
|---|---|---|---|---|---|
| 技术简介: | |||||
| 专利类型: | 实用新型 | 专利申请号: | CN201720736912.4 | 公开号: | CN207886249U |
| 专利权人: | 南方医科大学珠江医院 | 发明设计人: | 王沂峰 | ||
| 所属领域: | |||||
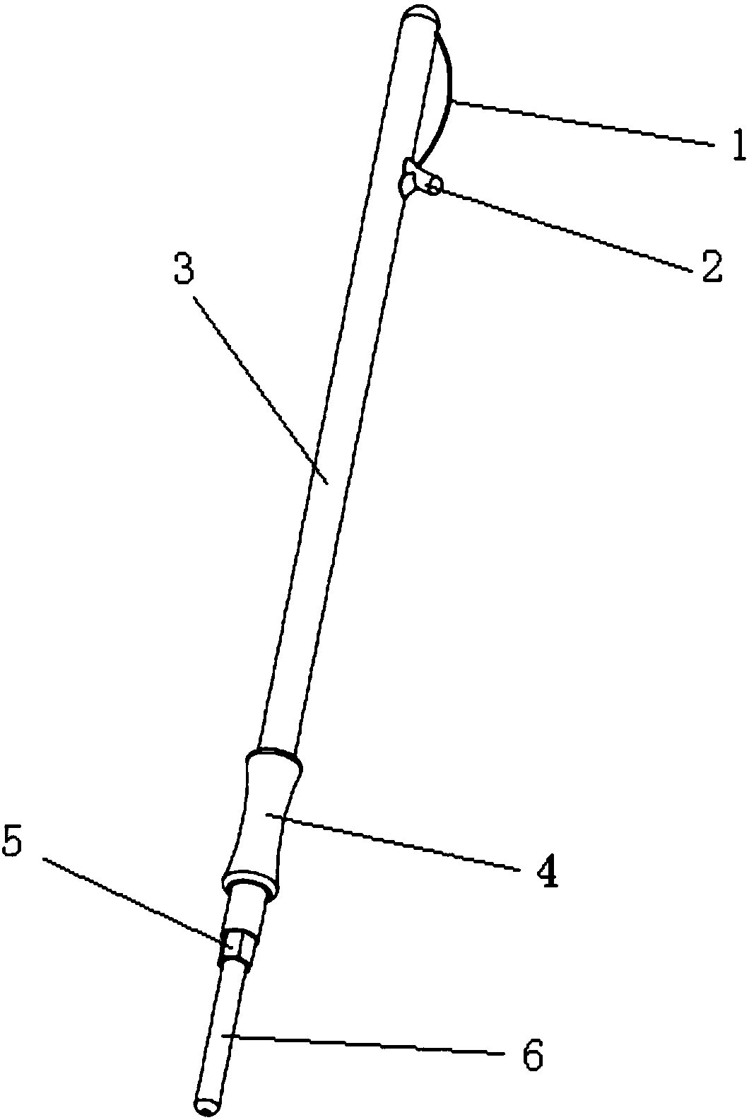
| 摘要: | 本实用新型涉及医疗器械行业技术领域,尤其涉及一种医用宫颈内口刀头,包括刀头本体,所述刀头本体包括内部带有导热杆的旋转杆,所述旋转杆的前端部一侧设有切割线圈,所述切割线圈呈圆弧状,所述切割线圈内侧端部设有刀头柄,所述刀头柄为绝缘不导热材料;所述旋转杆的后端部通过螺纹头连接有导电杆,所述导电杆的内部设有两条线路,且彼此不相通,所述旋转杆靠近所述螺纹头的一端套接有握垫;本实用新型可确保宫颈管切除深度为20mm,切除厚度为2‑3mm,可避免手术中切除深度过大、局部创面出血多、损伤宫颈机能等并发症;同时也可降低因不同手术医生操作而引起切除深度不同导致治疗效果的不均衡性,使宫颈切除术智能化、简单化、均一化、标准化。 | ||||
| 补充信息 | |||||
| 转让方式: | 成熟度: | 预估价值: | |||
| 市场前景: | |||||