样品
成果详情
| 项目简介 | |||||
|---|---|---|---|---|---|
| 技术简介: | |||||
| 专利类型: | 实用新型 | 专利申请号: | CN202120745748.X | 公开号: | CN215078859U | 
| 专利权人: | 南方医科大学南方医院 | 发明设计人: | 许万藏 | ||
| 所属领域: | |||||
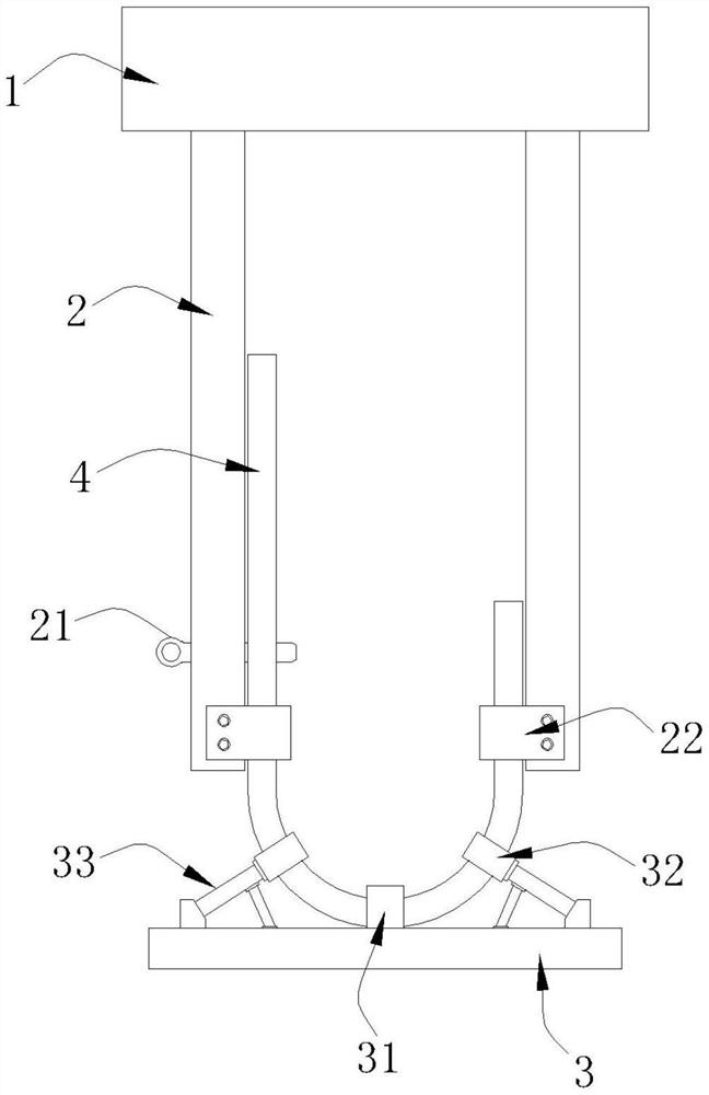
| 摘要: | 本实用新型公开了一种B超作业用可调手臂支撑,包括相固定的托板和固定架,所述固定架底部通过插销与弹簧板相活动固定,固定架上底部侧面位置固定有固定框,固定架下方设有底板,底板上中间位置固定有限位框一,限位框一的左右两侧通过支撑架固定有限位框二,弹簧板呈U型结构设置,弹簧板同时穿过固定框、限位框一和限位框二。本实用新型提供一种B超作业用可调手臂支撑,结构设置巧妙且布置合理,使用时由托板进行承托医护人员的手臂,这样降低手持探头进行B超引导操作时对手臂的负荷影响,同时托板由固定架与弹簧板进行支撑,调节插销的固定位置即可调节固定架的离地距离从而根据引导操作的具体情况来自由调节高度,使用更加灵活方便。 | ||||
| 补充信息 | |||||
| 转让方式: | 成熟度: | 预估价值: | |||
| 市场前景: | |||||