样品
成果详情
| 项目简介 | |||||
|---|---|---|---|---|---|
| 技术简介: | |||||
| 专利类型: | 实用新型 | 专利申请号: | CN202021679989.0 | 公开号: | CN213608045U |
| 专利权人: | 南方医科大学南方医院 | 发明设计人: | 余斌;林庆荣;胡岩君;刘冠峤;姜楠;马云飞 | ||
| 所属领域: | |||||
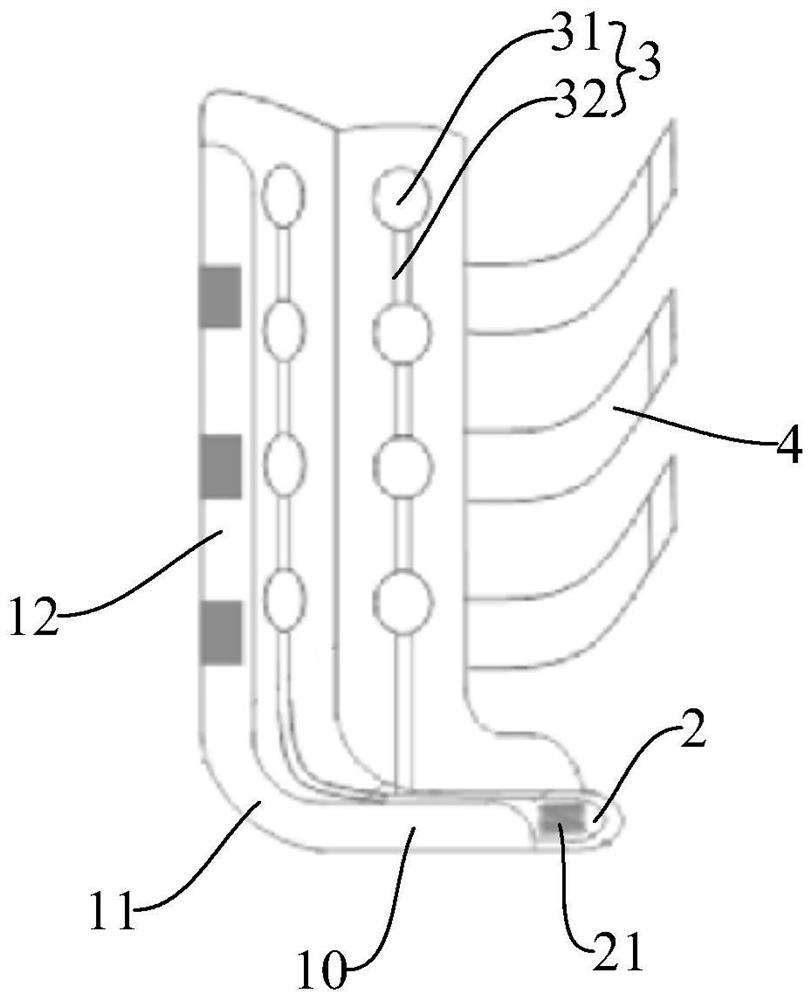
| 摘要: | 本实用新型公开了一种腿部按压装置,包括托架、第一弹性水囊和第二弹性水囊,托架具有支撑脚板的脚托,脚托的一端向上弯曲形成腿托;第一弹性水囊具有存储液体的第一空腔,第二弹性水囊具有存储液体的第二空腔,第一空腔与第二空腔连通,使用过程中,患者通过脚板踩踏第二弹性水囊,使第二空腔中的液体挤压到第一空腔,使得第一弹性水囊发生鼓胀,当踩踏力减小时,第二弹性水囊会回弹,同时第一空腔中的液体会回流至第二空腔,使得第一弹性水囊回缩,这样第一弹性水囊会形成不断的鼓胀与收缩的动态变化,对腿部形成活动按压的作用,该腿部按压装置不仅结构简单而且生产成本较低,具有较好的适用前景。 | ||||
| 补充信息 | |||||
| 转让方式: | 成熟度: | 预估价值: | |||
| 市场前景: | |||||