样品
成果详情
| 项目简介 | |||||
|---|---|---|---|---|---|
| 技术简介: | |||||
| 专利类型: | 实用新型 | 专利申请号: | CN202120591459.9 | 公开号: | CN215083300U | 
| 专利权人: | 南方医科大学南方医院 | 发明设计人: | 韦金玲;严莹;陈晓薇;胡艳 | ||
| 所属领域: | |||||
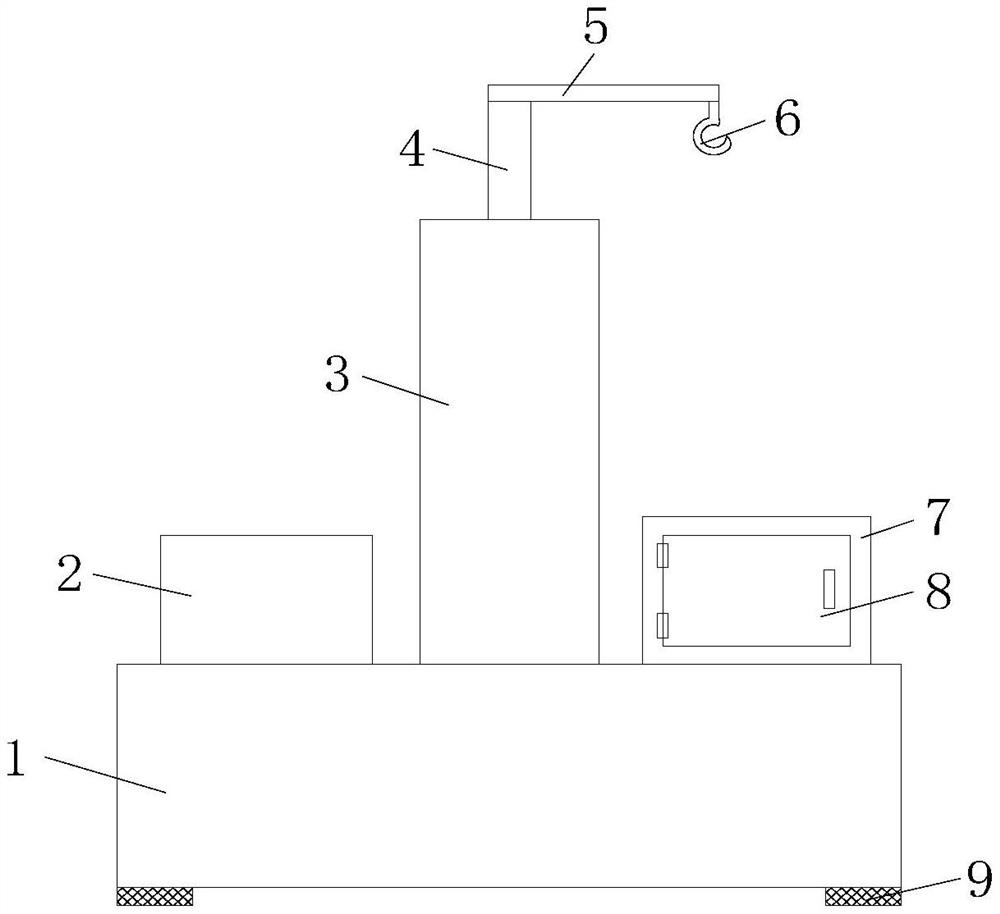
| 摘要: | 本实用新型公开了一种护理用的输液架,包括底座,所述底座内腔的顶部固定安装有第一气缸,所述第一气缸的底部固定安装有第一滑板,所述第一滑板底部的四周均固定安装有支撑腿,所述支撑腿的底部设置有移动轮,所述底座的底部开设有第一预留槽。本实用新型通过第一气缸延伸带动第一滑板沿第一滑槽的内腔向下移动,第一滑板带动支撑腿和移动轮向下移动,此时,移动轮贯穿第一预留槽的内腔并延伸至底座的底部,可以使本装置方便移动,通过第二气缸延伸带动第二滑板沿第二滑槽的内腔向上移动,第二滑板带动支撑柱的高度发生改变,方便调节高度,解决了现有的输液架功能单一,从而不便于人们使用的问题。 | ||||
| 补充信息 | |||||
| 转让方式: | 成熟度: | 预估价值: | |||
| 市场前景: | |||||