样品
成果详情
| 项目简介 | |||||
|---|---|---|---|---|---|
| 技术简介: | |||||
| 专利类型: | 实用新型 | 专利申请号: | CN202322956873.7 | 公开号: | CN221750602U |
| 专利权人: | 南方医科大学南方医院 | 发明设计人: | 孙文妍 | ||
| 所属领域: | |||||
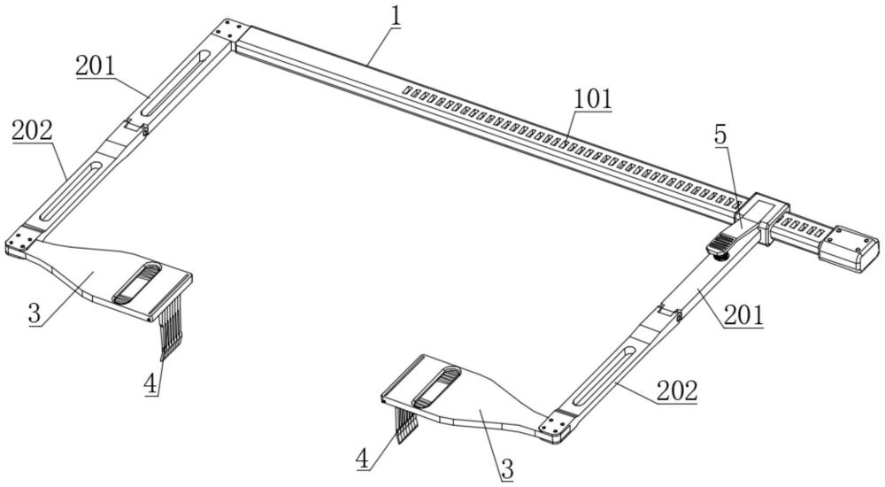
| 摘要: | 本实用新型公开了一种牵张拉钩,包括横向设置的主杆,主杆上纵向方向设置有两个撑开臂,至少有一个撑开臂滑动连接在主杆上,撑开臂远离主杆的一端设有钩座,钩座的侧壁上开有收纳槽,收纳槽的内部转动连接有多个并排设置的多个钩片,本实用新型通过将部分钩片收纳进收纳槽的内部,用以调节展开钩片拼接的宽度,此时能够对不同大小的手术刀口进行钩开,灵活适应于不同的手术刀口,提升使用效率,有效解决了现有固定拉钩面积固定,满足不同大小的手术刀口使用。 | ||||
| 补充信息 | |||||
| 转让方式: | 成熟度: | 预估价值: | |||
| 市场前景: | |||||