样品
成果详情
| 项目简介 | |||||
|---|---|---|---|---|---|
| 技术简介: | |||||
| 专利类型: | 实用新型 | 专利申请号: | CN202123131256.0 | 公开号: | CN216676061U |
| 专利权人: | 南方医科大学珠江医院 | 发明设计人: | 梁芳露;范梅霞;毛惠娜;曾倩 | ||
| 所属领域: | |||||
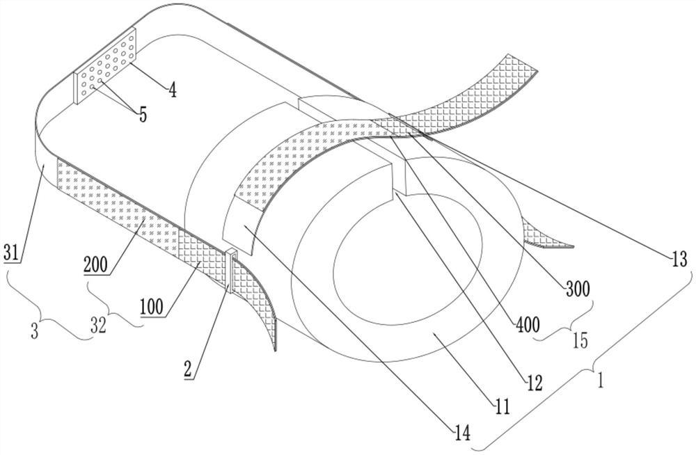
| 摘要: | 本实用新型公开了一种便于皮肤护理的防足下垂用具,包括可穿戴在患者的患肢上的抬高套;在所述抬高套的两侧外壁上均设有限位环,在所述限位环上可拆卸设有防足下垂带;所述防足下垂带包括工作时能够紧贴患者的足底部并且两端分别可拆卸穿设在相应的所述限位环上的带体,在所述带体的两端均设有用于将该带体固定在所述限位环上的第一魔术贴结构。本实用新型具有方便调节、便于患肢进行功能锻炼和皮肤观察,能够有效的预防患肢出现足下垂、压力性损伤、深静脉血栓的优点。 | ||||
| 补充信息 | |||||
| 转让方式: | 成熟度: | 预估价值: | |||
| 市场前景: | |||||