样品
成果详情
| 项目简介 | |||||
|---|---|---|---|---|---|
| 技术简介: | |||||
| 专利类型: | 发明 | 专利申请号: | CN202011447104.9 | 公开号: | CN112603440A |
| 专利权人: | 南方医科大学南方医院 | 发明设计人: | 许波;李丹;许重远;张广清;陈洁;宿爱山 | ||
| 所属领域: | |||||
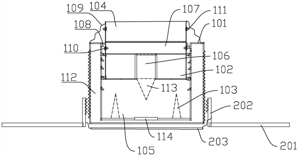
| 摘要: | 本发明公开了一种冷敷的止血装置,止血装置包括固定带和止血器,止血器包括外壳、储存装置和至少一个第一穿刺部,储存装置可上下移动地安装在外壳中,储存装置的底部与外壳底部之间构成用于储存用于参与制冷反应的固态物质的反应腔,储存装置中设置有至少一个用于装用于参与制冷反应的溶液一的储存格;第一穿刺部设置在外壳内的底部;外壳的侧壁和底壁设置有用于装硫酸钠溶液的夹层,外壳底部的内壁设置有封膜,储存装置的底部设置有第二穿刺部。固定带将止血器固定在出血位置,按压储存装置,第一穿刺部刺破储存格,溶液一和固态物质反应制冷,冷敷止血。止血完成后,继续按压储存装置,第二穿刺部刺破外壳底部的封膜。 | ||||
| 补充信息 | |||||
| 转让方式: | 成熟度: | 预估价值: | |||
| 市场前景: | |||||