样品
成果详情
| 项目简介 | |||||
|---|---|---|---|---|---|
| 技术简介: | |||||
| 专利类型: | 实用新型 | 专利申请号: | CN202021289566.8 | 公开号: | CN212738988U |
| 专利权人: | 南方医科大学南方医院 | 发明设计人: | 郭萍;黄榕;曾灿辉;黄少慧;曾嘉 | ||
| 所属领域: | |||||
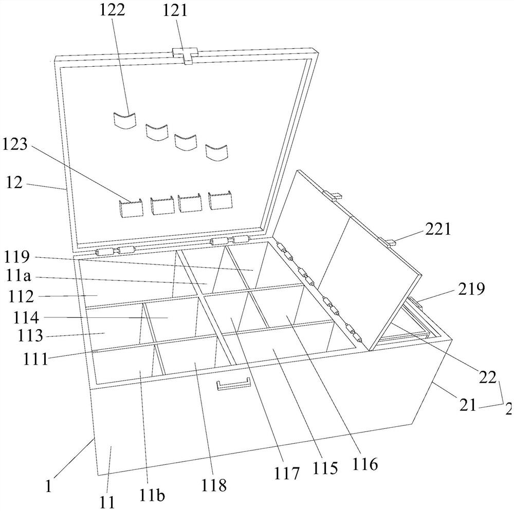
| 摘要: | 本实用新型公开了一种气管插管专用收纳盒,包括收纳盒一,其盒体一通过纵向及横向的隔板一分隔为简易呼吸气囊容纳槽、可视喉镜容纳槽、一次性喉镜片容纳槽、气管插管导丝容纳槽、一次性气管导管容纳槽、口咽通气管容纳槽、牙垫容纳槽、20ml注射器容纳槽、5ml注射器容纳槽和胶布槽;其盒盖一内壁面固定有沿左右方向布置的多条弹力带环和位于各弹力带环下方的槽盒;及收纳盒二,其盒体二位于盒体一右侧与盒体一一体连接,盒体二通过一横向的隔板二分隔为前后布置的医疗垃圾容纳槽和锐器容纳槽,医疗垃圾容纳槽和锐器容纳槽的上方分别有一独立的垂直盒盖一的盒盖二。本实用新型的气管插管专用收纳盒抢救时效率高。 | ||||
| 补充信息 | |||||
| 转让方式: | 成熟度: | 预估价值: | |||
| 市场前景: | |||||