样品
成果详情
| 项目简介 | |||||
|---|---|---|---|---|---|
| 技术简介: | |||||
| 专利类型: | 实用新型 | 专利申请号: | CN202022082738.0 | 公开号: | CN213553833U | 
| 专利权人: | 南方医科大学南方医院 | 发明设计人: | 袁志云;黄平;谭乐宜 | ||
| 所属领域: | |||||
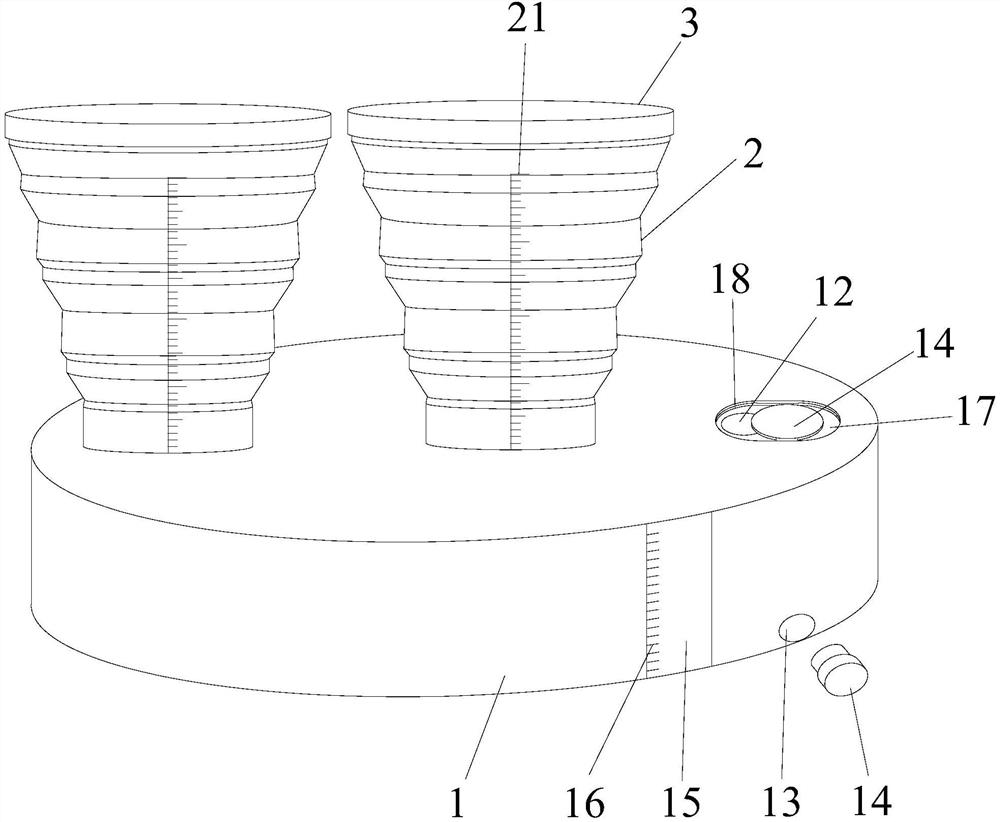
| 摘要: | 本实用新型公开了一种鼻饲用的量杯,包括底座,所述底座内具有盛水容腔,底座的顶面开有与盛水容腔连通的进水口,底座的侧面底部开有与盛水容腔连通的排水孔,进水口和排水孔上均装有开关,底座的顶面一体连接有两个透明的可折叠量杯,各可折叠量杯的顶部安装有可拆卸的盖子。本实用新型的鼻饲用的量杯提高了工作效率。 | ||||
| 补充信息 | |||||
| 转让方式: | 成熟度: | 预估价值: | |||
| 市场前景: | |||||