样品
成果详情
| 项目简介 | |||||
|---|---|---|---|---|---|
| 技术简介: | |||||
| 专利类型: | 实用新型 | 专利申请号: | CN202120617290.X | 公开号: | CN215017548U | 
| 专利权人: | 南方医科大学南方医院 | 发明设计人: | 李涛;梁洁;王玉享;施盛莹;周田田;张梦圆;郭蔚;单建康;李秀涛 | ||
| 所属领域: | |||||
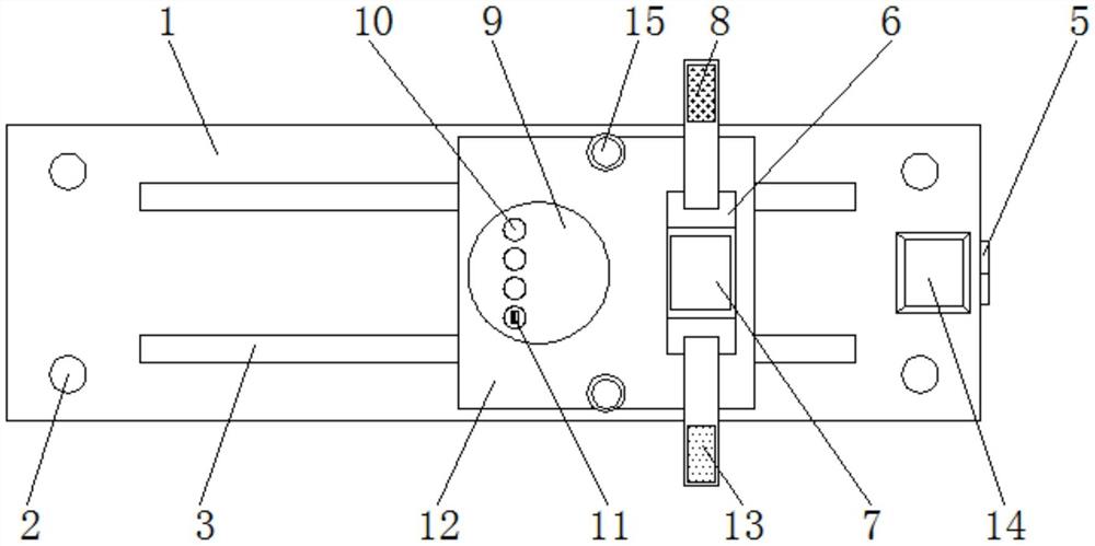
| 摘要: | 本实用新型公开了一种可调节式多功能手背采血生命体征监测球,包括安装板,所述安装板顶部的前后两侧均开设有滑槽,所述滑槽的内腔设置有滑块,所述滑块的顶部贯穿至滑槽的顶部并固定连接有底板,所述底板顶部左侧的中端固定连接有球体,所述球体的顶部开设有手指槽。本实用新型通过安装板、滑槽、滑块、控制器、腕托、血压计、后手腕带、球体、手指槽、血氧探测仪、底板、前手腕带、显示屏和紧固螺栓的配合使用,具备可监测生命体征的优点,解决了在对采血者进行采血的过程中,通常无法同时对采血者进行血氧、呼吸和脉搏灯生命体征,从而无法快速判断采血者的采血状态,容易在采血的过程中发生意外,安全性差的问题。 | ||||
| 补充信息 | |||||
| 转让方式: | 成熟度: | 预估价值: | |||
| 市场前景: | |||||