样品
成果详情
| 项目简介 | |||||
|---|---|---|---|---|---|
| 技术简介: | |||||
| 专利类型: | 实用新型 | 专利申请号: | CN202120582127.4 | 公开号: | CN214965925U |
| 专利权人: | 南方医科大学珠江医院 | 发明设计人: | 朱芳;梁淑茵 | ||
| 所属领域: | |||||
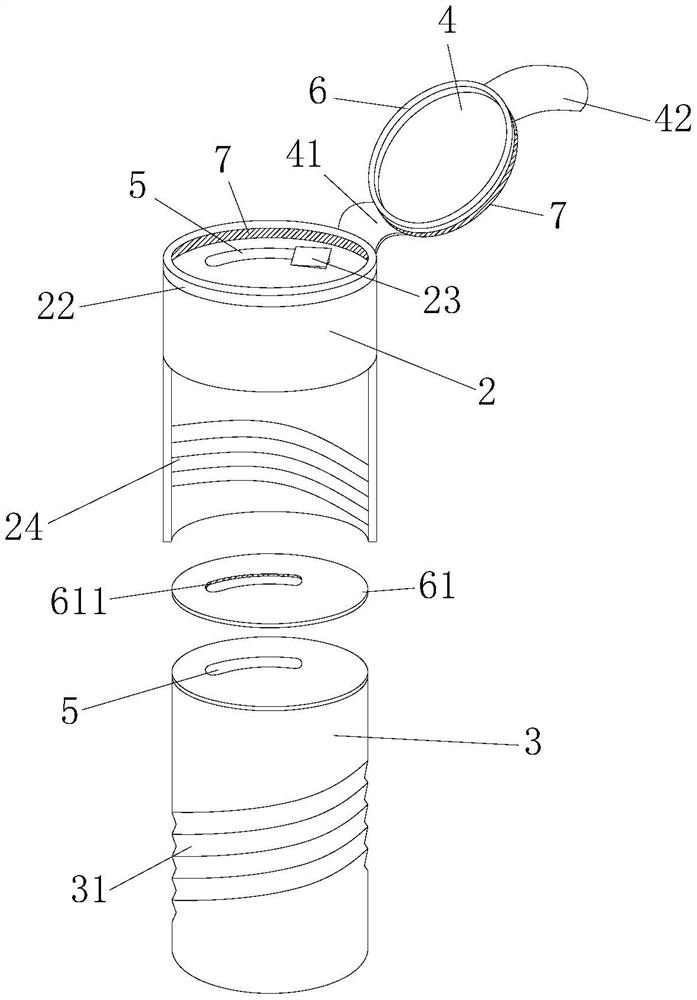
| 摘要: | 本实用新型公开了一种密封性好的化验用留取管,包括下盖、上盖和用于密封盖住上盖的密封盖,所述下盖与一试管固定连接,并且所述下盖与上盖螺纹可拆卸连接,所述上盖与下盖上均设有一通孔并且各所述通孔均是位于以上盖或是下盖的中心点为中心的圆周上,其中,所述上盖的通孔位于下盖的通孔的正上方以形成在上盖与下盖螺纹连接且未拧紧状态下用于带标本的棉签或试纸伸入试管内和拧紧状态下两个通孔的位置不重叠的结构;在所述上盖的通孔内还固定有一刀片,所述刀片的刀锋朝向上盖松开下盖的旋转方向。本实用新型通过在上盖的顶部设置密封盖进行密封,密封性好,同时能够通过旋转上盖的方式利用刀片将带标本的棉签或试纸切断,方便使用。 | ||||
| 补充信息 | |||||
| 转让方式: | 成熟度: | 预估价值: | |||
| 市场前景: | |||||