样品
成果详情
| 项目简介 | |||||
|---|---|---|---|---|---|
| 技术简介: | |||||
| 专利类型: | 实用新型 | 专利申请号: | CN202222709569.8 | 公开号: | CN219963098U |
| 专利权人: | 南方医科大学珠江医院 | 发明设计人: | 柏乐瑾;李菀丹 | ||
| 所属领域: | |||||
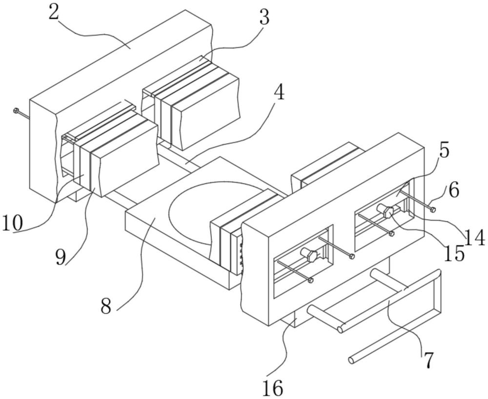
| 摘要: | 本实用新型公开了一种具有大小调节功能的头部固定架,包括头部放置盘和多个导杆,相邻两个所述导杆上固定套设有固定块,所述固定块上固定连接有日字形移动块,所述日字形移动块内侧两端均开设有两对滑槽,两个所述滑槽之间滑动的设置有滑动板,所述滑动板内侧设置有夹持组件,所述加持组件与所述滑动板之间可伸缩连接,整个过程利用固定块和橡胶块产生符合各个大小头部的弧度进行适配,然后利用第二螺纹杆和金属推动块产生压力对头部进行固定,整个过程先适配后固定,从而不会出现夹持便宜摩擦毛发的情况发生,并且实用性更大,可以自由调节弧度大小,患者的体验感也更好,舒适性更佳。 | ||||
| 补充信息 | |||||
| 转让方式: | 成熟度: | 预估价值: | |||
| 市场前景: | |||||