样品
成果详情
| 项目简介 | |||||
|---|---|---|---|---|---|
| 技术简介: | |||||
| 专利类型: | 发明 | 专利申请号: | CN202010613918.9 | 公开号: | CN111830252A |
| 专利权人: | 南方医科大学 | 发明设计人: | 吴泽;陆锦辉;刘博超 | ||
| 所属领域: | |||||
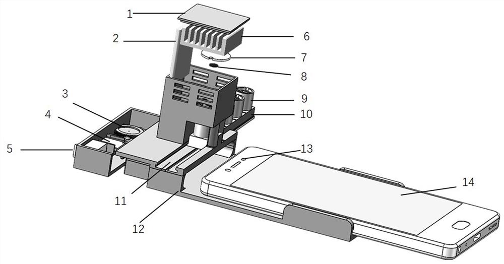
| 摘要: | 本发明公开了一种基于智能移动终端的酶联免疫层析传感器及使用方法。一种基于智能移动终端的酶联免疫层析传感器,其包括:结果阅读装置,其包括提供光源的暗室、导光基座和带有光传感器的智能移动终端,其中所述暗室底部设有便于光束通过的通孔,所述导光基座上设置有导光孔,所述光传感器、导光孔及通孔相对应设置且位于同一光路径上;层析装置,其包括依次连接的进样层、结合层、具有层析膜的层析桶及吸水层,所述层析桶与结合层、吸水层为可拆卸连接,便于将层析反应后的层析桶置于所述导光基座上。本发明基于智能手机的即时检测装置,将免疫检测过程与智能移动终端相结合,借助智能移动终端的光传感器实现检测结果的判读。 | ||||
| 补充信息 | |||||
| 转让方式: | 成熟度: | 预估价值: | |||
| 市场前景: | |||||