样品
成果详情
| 项目简介 | |||||
|---|---|---|---|---|---|
| 技术简介: | |||||
| 专利类型: | 发明 | 专利申请号: | CN201810973256.9 | 公开号: | CN108992256A |
| 专利权人: | 南方医科大学南方医院 | 发明设计人: | 杨丽;周辉;周太峰;王国保;龚妮容 | ||
| 所属领域: | |||||
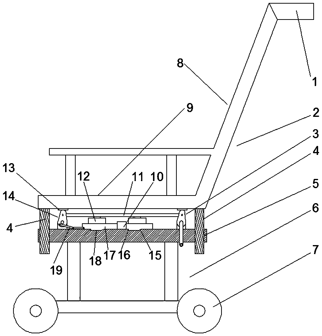
| 摘要: | 本发明涉及一种透析患者用称重轮椅。包括底部设置有轮子的轮椅架,所述轮椅架包括上下分体设置的上轮椅架和下轮椅架,所述轮子设置于所述下轮椅架上,上轮椅架包括坐垫和靠背,靠背上设置有扶手,上轮椅架上设置有竖直布置的导向传力柱,下轮椅架上设置有与所述导向传力柱导向移动配合的导向传力孔,下轮椅架的顶部设置有称重传感器,下轮椅架的顶部还设置有用于顶起所述上轮椅架的顶升机构,上轮椅架具有被所述顶升机构顶升而与所述称重传感器脱离的轮椅架高位和在重力作用下向下移动而与所述称重传感器接触的轮椅架低位。本发明解决了现有技术中轮子粘上杂物后会影响称重结果的问题。 | ||||
| 补充信息 | |||||
| 转让方式: | 成熟度: | 预估价值: | |||
| 市场前景: | |||||