样品
成果详情
| 项目简介 | |||||
|---|---|---|---|---|---|
| 技术简介: | |||||
| 专利类型: | 实用新型 | 专利申请号: | CN201921367242.9 | 公开号: | CN210991295U |
| 专利权人: | 南方医科大学南方医院 | 发明设计人: | 王莉慧;周宏珍;邹莹莹;姚琳 | ||
| 所属领域: | |||||
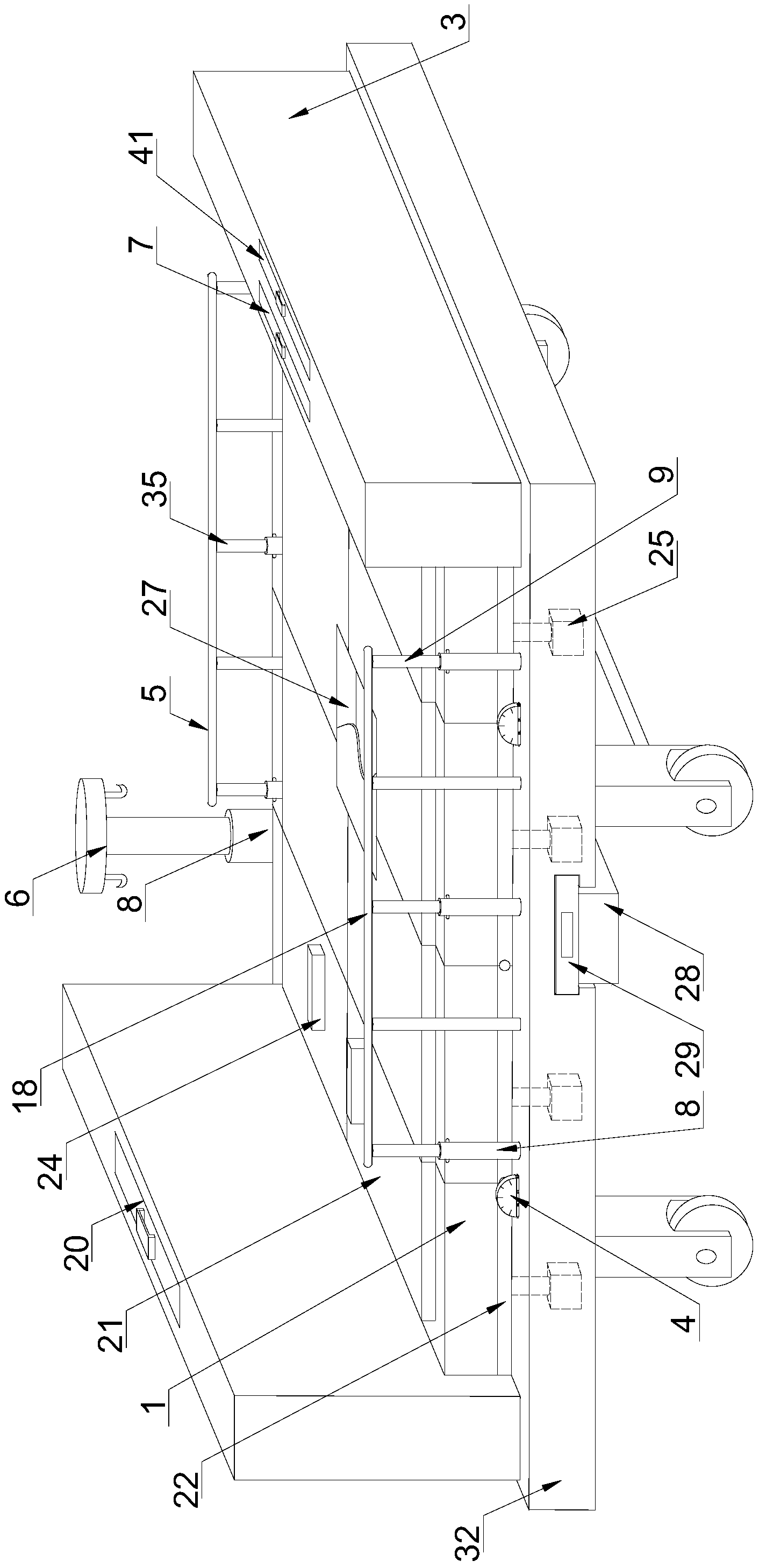
| 摘要: | 本实用新型公开了一种多功能护理床,具体涉及护理床技术领域,包括床架,所述床架顶部两端分别设置有床头和床尾,所述床架的两长边上接近两端的位置均固定设置有折叠标尺,所述床架顶部两侧(也就是床架的两条短边)均设置有床挡,所述床架一侧设置有输液架,所述输液架和床挡均包括第一支撑杆和第二支撑杆,所述第一支撑杆底端与床架固定连接。本实用新型通过设有第一支撑杆和第二支撑杆,在使用时,可以根据实际情况对床挡和输液架的高度进行调节,既能够增加该装置的使用效果,又可以增加该装置的安全性,而且,通过设有折叠标尺,在对床板进行角度调节时,方便观察调整角度,从而降低医护人员的工作强度。 | ||||
| 补充信息 | |||||
| 转让方式: | 成熟度: | 预估价值: | |||
| 市场前景: | |||||