样品
成果详情
| 项目简介 | |||||
|---|---|---|---|---|---|
| 技术简介: | |||||
| 专利类型: | 实用新型 | 专利申请号: | CN202021319933.4 | 公开号: | CN213310241U |
| 专利权人: | 南方医科大学深圳医院 | 发明设计人: | 刘珊珊;陈凌武;曾云;周冠忠 | ||
| 所属领域: | |||||
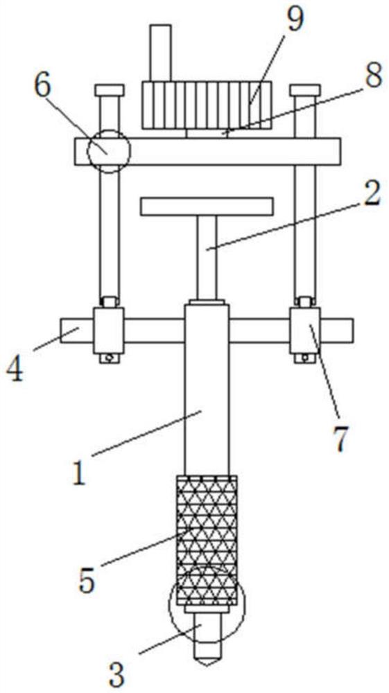
| 摘要: | 本实用新型公开了一种骨外科用断钉取出装置,包括螺母旋套、内压紧螺杆、断钉件和旋动机构,所述螺母旋套螺纹旋合套设在断钉件上,且上端垂直相背固定有两个手柄,所述旋动机构包括外螺母套和旋动组件,所述外螺母套套设安装在螺母旋套下端表面,所述旋动组件包括支撑杆、手轮和卡紧组件,所述支撑杆呈“U”型,且下端与卡紧组件转动连接,所述卡紧组件可套设卡紧在手柄上,所述支撑杆上表面垂直固定有固定柱,所述手轮固定在固定柱端部;本实用新型通过设置有旋动机构,既不影响取出器对断钉的正常取出,又方便连续转动整个取出器,相对提高断钉取出效率和减少不连续转动的麻烦;且旋动组件方便安装和拆卸。 | ||||
| 补充信息 | |||||
| 转让方式: | 成熟度: | 预估价值: | |||
| 市场前景: | |||||