样品
成果详情
| 项目简介 | |||||
|---|---|---|---|---|---|
| 技术简介: | |||||
| 专利类型: | 实用新型 | 专利申请号: | CN201821726690.9 | 公开号: | CN210077664U |
| 专利权人: | 南方医科大学珠江医院 | 发明设计人: | 甘华秀;鲁玫;姜雯频 | ||
| 所属领域: | |||||
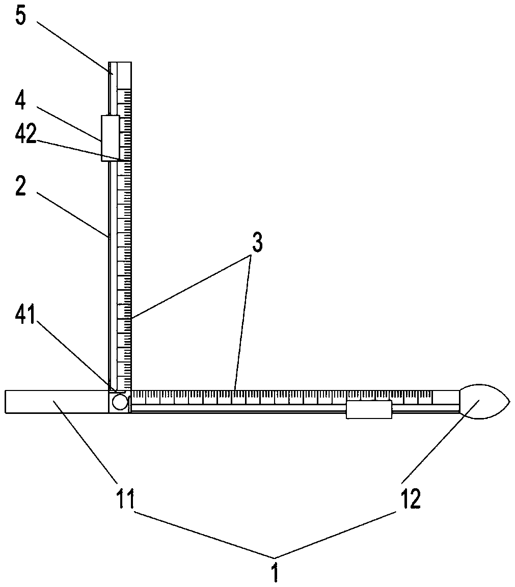
| 摘要: | 本实用新型公开了提供了一种感应式伤口测量尺,包括测量尺;所述测量尺由相铰接的第一尺杆和第二尺杆组成,在所述第一尺杆和第二尺杆上均设置有刻度,其中,所述第一尺杆一端为手持接触操作端以及在该第一尺杆另一端设有发光头。通过本实用新型使得伤口检测更方便、快速,提高了检测的效率和准确性。 | ||||
| 补充信息 | |||||
| 转让方式: | 成熟度: | 预估价值: | |||
| 市场前景: | |||||