样品
成果详情
| 项目简介 | |||||
|---|---|---|---|---|---|
| 技术简介: | |||||
| 专利类型: | 发明 | 专利申请号: | CN201610407511.4 | 公开号: | CN106108985A |
| 专利权人: | 南方医科大学 | 发明设计人: | 杜以宽;黄文华 | ||
| 所属领域: | |||||
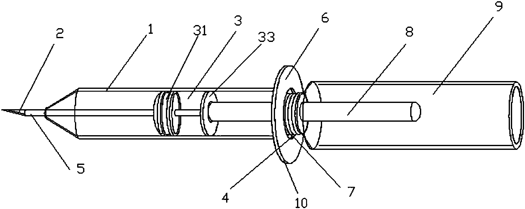
| 摘要: | 本发明公开了一种治疗针刺装置,包括套筒,所述套筒的一端设有底座,所述底座的中间设有接口,所述负压吸管的前端设有接头,所述负压吸管内腔设有胶塞穿刺针,所述胶塞穿刺针的一半在负压吸管的内腔胶塞穿刺针的另一半设在套筒的内腔,所述套筒的内腔中部设有限位结构,所述穿刺端贯穿限位结构,所述穿刺端的一端延伸出套筒的外侧,所述限位结构包括活塞和连接座。用于软组织松解、减压时,针刺部位准确、灵活且刺激量大,极易控制针刺的方向及深浅度,且避免多次进针对患者造成的痛苦;同时可进行渗出液等的抽吸,从而提高肌纤维炎等软组织损伤的治疗效果。 | ||||
| 补充信息 | |||||
| 转让方式: | 成熟度: | 预估价值: | |||
| 市场前景: | |||||