样品
成果详情
| 项目简介 | |||||
|---|---|---|---|---|---|
| 技术简介: | |||||
| 专利类型: | 实用新型 | 专利申请号: | CN201921943790.1 | 公开号: | CN211049394U |
| 专利权人: | 南方医科大学南方医院 | 发明设计人: | 吴亚男;张晓梅;潘速跃;程代红;范祖森 | ||
| 所属领域: | |||||
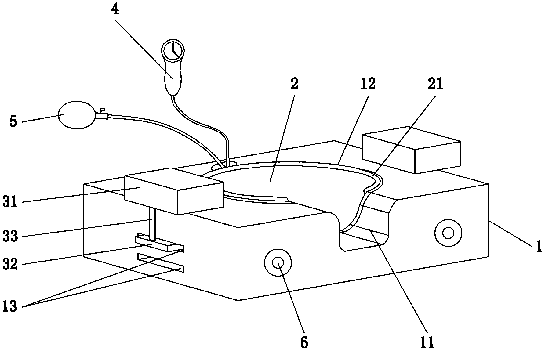
| 摘要: | 本实用新型公开了一种适用于影像学检查的可拆卸头部垫枕。一种适用于影像学检查的可拆卸头部垫枕,包括枕垫底座,其中,所述枕垫底座上设有用于放置头颈部的相配合的颈部安放槽和凹型头部安放槽,所述凹型头部安放槽内安装有可拆卸的凹型枕垫,所述凹型枕垫顶部绕凹型枕垫设有弧形的充气垫,该充气垫通过管路分别与气囊测压表、充气气囊连接,所述枕垫底座两侧对称设有安装槽,在所述安装槽上安装有头部固定组件。本实用新型一种适用于影像学检查的可拆卸头部垫枕,拆装方便并且便于医护人员操作。 | ||||
| 补充信息 | |||||
| 转让方式: | 成熟度: | 预估价值: | |||
| 市场前景: | |||||