样品
成果详情
| 项目简介 | |||||
|---|---|---|---|---|---|
| 技术简介: | |||||
| 专利类型: | 实用新型 | 专利申请号: | CN202020357314.8 | 公开号: | CN212521933U |
| 专利权人: | 南方医科大学南方医院 | 发明设计人: | 庞战军;庞凡 | ||
| 所属领域: | |||||
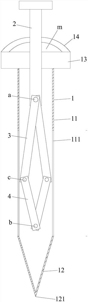
| 摘要: | 本实用新型公开了一种腹壁小切口反向切割装置,包括穿刺锥体及推杆,穿刺锥体的下端为穿刺尖端,穿刺锥体的内部空心且两侧开有开孔,穿刺锥体内有两个切割刀片及两个支撑臂,两个切割刀片的刀刃朝上,两个切割刀片的下端分别与两个支撑臂的上端铰接连接,两个支撑臂的下端与穿刺锥体铰接连接,推杆自穿刺椎体的上端贯穿伸入穿刺椎体内与两个切割刀片上端铰接连接并且能够上下移动使两个切割刀片及两个支撑臂展开自开孔处伸出穿刺椎体外及收拢隐藏于穿刺椎体内。本实用新型的腹壁小切口反向切割装置能够避免腹腔脏器损伤,保证手术安全。 | ||||
| 补充信息 | |||||
| 转让方式: | 成熟度: | 预估价值: | |||
| 市场前景: | |||||