样品
成果详情
| 项目简介 | |||||
|---|---|---|---|---|---|
| 技术简介: | |||||
| 专利类型: | 实用新型 | 专利申请号: | CN201821204148.7 | 公开号: | CN209003924U |
| 专利权人: | 南方医科大学南方医院 | 发明设计人: | 邹莹莹;刘思德;黄颖 | ||
| 所属领域: | |||||
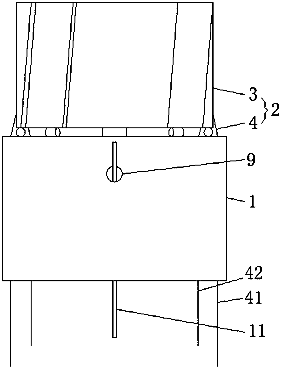
| 摘要: | 本实用新型公开了一种透明帽。一种透明帽,包括主体,所述的主体的两端分别为顶端和与内镜套接的连接端,所述的主体的顶端安装有能够变换其直径和其与主体侧壁之间夹角的顶部套件,所述的顶部套件包括至少四块与主体相互铰接的活动挡板和用于调节活动挡板与主体侧壁之间夹角的调节机构,各活动挡板绕主体的轴线均布,每块所述的活动挡板与主体外侧壁的夹角为100°~260°。本实用新型的一种透明帽具有可变换顶部直径、可方便手术进行的特点。 | ||||
| 补充信息 | |||||
| 转让方式: | 成熟度: | 预估价值: | |||
| 市场前景: | |||||