样品
成果详情
| 项目简介 | |||||
|---|---|---|---|---|---|
| 技术简介: | |||||
| 专利类型: | 实用新型 | 专利申请号: | CN202120426568.5 | 公开号: | CN215275185U | 
| 专利权人: | 南方医科大学南方医院 | 发明设计人: | 菊艳;黄良;沈静 | ||
| 所属领域: | |||||
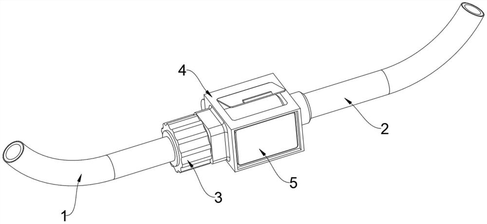
| 摘要: | 本实用新型公开了一种医用氧气袋的加压装置,包括加压盒,所述加压盒的上端面安装有检修封盖,所述加压盒的一端固定安装有连接管,所述加压盒的内侧安装有微型气泵,所述加压盒的一侧设置有显示屏主体,所述加压盒的另一侧固定安装有电池安装管,所述电池安装管一端的内侧安装有金属垫片,所述金属垫片的一侧安装有支撑弹簧,所述支撑弹簧的一端安装有电池块,所述电池块的一端位于电池安装管另一端的内侧安装有安装旋钮,所述加压盒另一端的内侧安装有锁紧连接管,所述锁紧连接管一端的内侧安装有螺纹套。本实用新型通过对氧气袋进行抽取,便于通过氧气管进行持续和均匀进行供氧操作,且安装简单,使用方便。 | ||||
| 补充信息 | |||||
| 转让方式: | 成熟度: | 预估价值: | |||
| 市场前景: | |||||