样品
成果详情
| 项目简介 | |||||
|---|---|---|---|---|---|
| 技术简介: | |||||
| 专利类型: | 实用新型 | 专利申请号: | CN202020847095.1 | 公开号: | CN213249715U |
| 专利权人: | 南方医科大学南方医院 | 发明设计人: | 陈静 | ||
| 所属领域: | |||||
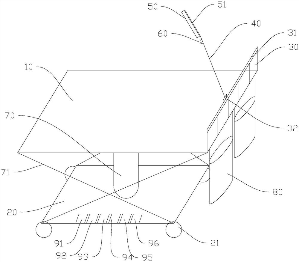
| 摘要: | 本实用新型公开了一种接产台,其包括底座,底座的底面设有移动装置;台面,台面通过升降装置安装在底座上,台面上设有引导装置,引导装置包括支架、无影灯和引导镜,支架安装在台面的一侧,无影灯和引导镜均安装在支架上。本实用新型通过升降台面以适应产床的高度,以及便于助产者在台面上进行操作,引导装置上的无影灯能提供充足的光源,以使接产者能清楚观察产妇分娩情况,引导装置上的引导镜便于产妇观察胎头下降程度,从而让接产者更高效、节力地完成接产。 | ||||
| 补充信息 | |||||
| 转让方式: | 成熟度: | 预估价值: | |||
| 市场前景: | |||||