样品
成果详情
| 项目简介 | |||||
|---|---|---|---|---|---|
| 技术简介: | |||||
| 专利类型: | 实用新型 | 专利申请号: | CN202220066773.X | 公开号: | CN216823676U |
| 专利权人: | 南方医科大学珠江医院 | 发明设计人: | 白小平;李双华;纪晓屏;薛佳文;陈相如 | ||
| 所属领域: | |||||
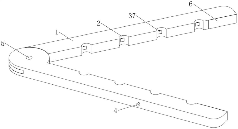
| 摘要: | 本实用新型公开了一种监护仪使用线夹,包括两个夹体,两所述夹体的一端转动连接且两夹体的另一端形成可打开可闭合结构,两所述夹体相邻的一侧均开设有若干个半圆槽,其中一所述夹体上的各半圆槽分别与另一夹体上的各半圆槽一一配合形成若干个供导联线穿过的通孔,以及,两所述夹体上均设置有能够固定导联线的定位结构。本实用新型具有有效避免线缠绕、提高效率等优点。 | ||||
| 补充信息 | |||||
| 转让方式: | 成熟度: | 预估价值: | |||
| 市场前景: | |||||