样品
成果详情
| 项目简介 | |||||
|---|---|---|---|---|---|
| 技术简介: | |||||
| 专利类型: | 实用新型 | 专利申请号: | CN201921999022.8 | 公开号: | CN211094514U |
| 专利权人: | 南方医科大学南方医院 | 发明设计人: | 付霞;王学青;付江瑜 | ||
| 所属领域: | |||||
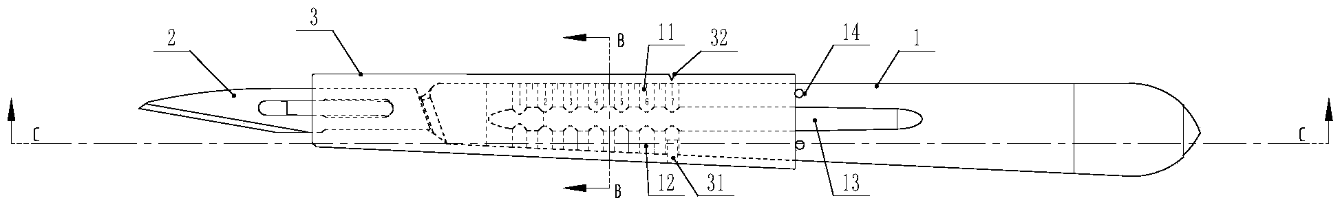
| 摘要: | 本实用新型公开了一种静脉置管用扩皮刀,包括刀柄和连接在所述刀柄一端的刀片,所述刀片具有长度为L的刀刃,所述刀柄沿其长度方向的一侧边设置有刻度部,所述刻度部相对一侧侧边设置有与所述刻度部位置对应的多个卡槽;所述刀柄外套设有一透明滑套,所述透明滑套的内壁在远离所述刀片一端的端部设置有与所述卡槽成过盈配合的卡榫,与所述卡榫位置相对的所述透明滑套上设置有V形槽,所述V形槽的槽底与所述刻度部的刻度点相对用于指示刻度;所述透明滑套在所述刀柄上滑动的滑动行程为L,其在滑动行程起始点时所述刀片的所述刀刃完全露出,且其在滑动行程的结束点时所述刀片的所述刀刃被所述透明滑套完全覆盖。 | ||||
| 补充信息 | |||||
| 转让方式: | 成熟度: | 预估价值: | |||
| 市场前景: | |||||