样品
成果详情
| 项目简介 | |||||
|---|---|---|---|---|---|
| 技术简介: | |||||
| 专利类型: | 发明 | 专利申请号: | CN202210575360.9 | 公开号: | CN114870157A |
| 专利权人: | 南方医科大学南方医院 | 发明设计人: | 曾颖华;李文姬 | ||
| 所属领域: | |||||
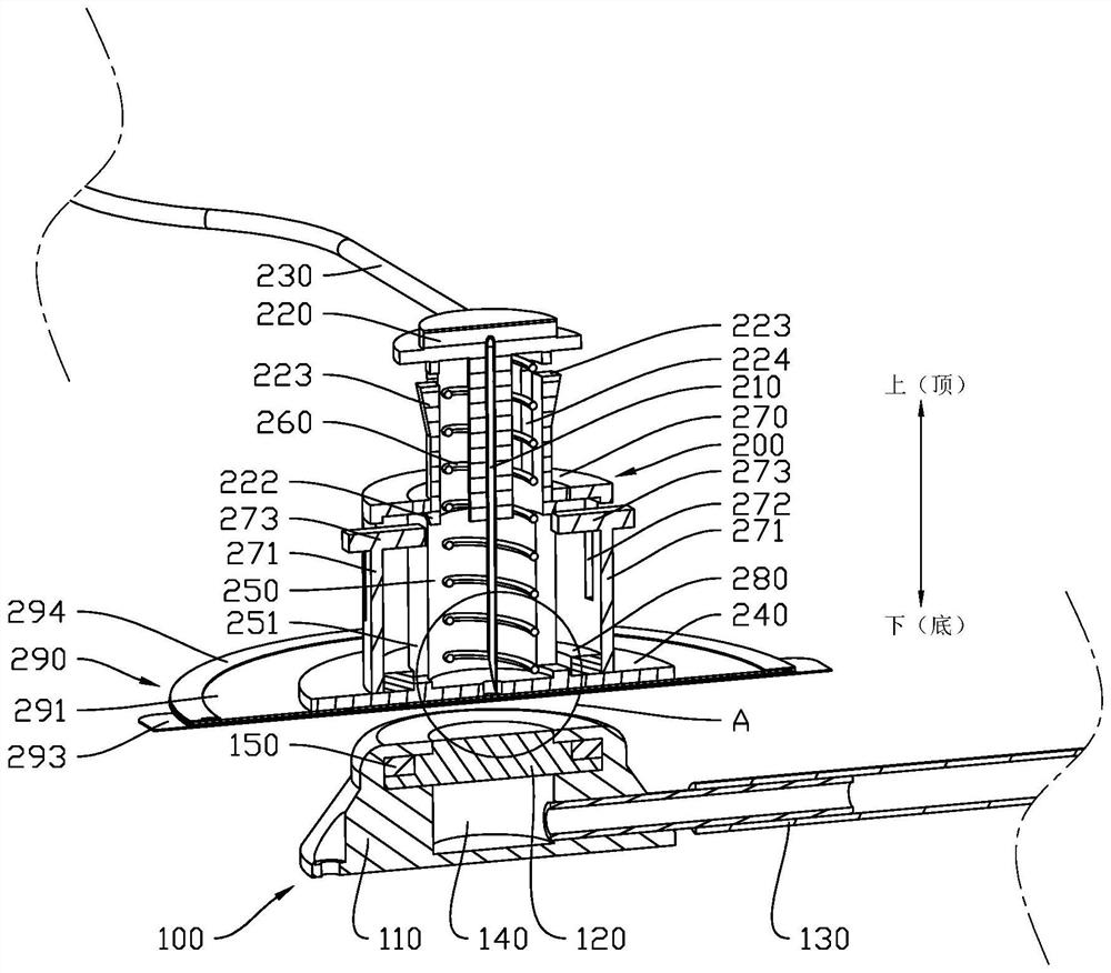
| 摘要: | 本发明公开了一种输液装置及使用方法,输液装置包括:输液港组件,包括注射座、穿刺隔膜和导管;无损伤针组件,包括无损伤针体、指压按钮、输液延长管、底座、内护筒和压缩弹簧,内护筒设于底座上,底座上设有连通于内护筒内部的避让孔,指压按钮上设有插设于内护筒内部的延伸部,延伸部与内护筒之间设有防脱结构和可解锁的锁定结构,压缩弹簧设于指压按钮和底座之间,按压指压按钮完成穿刺操作后可通过锁定结构限制指压按钮移动,解锁锁定结构时压缩弹簧能够驱使指压按钮移动以使无损伤针体的头部收缩于内护筒内部;磁吸结构,设于注射座和底座之间。上述的输液装置有利于降低穿刺操作的难度并且有利于防止医护人员在拔除无损伤针时被刺伤。 | ||||
| 补充信息 | |||||
| 转让方式: | 成熟度: | 预估价值: | |||
| 市场前景: | |||||