样品
成果详情
| 项目简介 | |||||
|---|---|---|---|---|---|
| 技术简介: | |||||
| 专利类型: | 实用新型 | 专利申请号: | CN202122449844.2 | 公开号: | CN215914936U |
| 专利权人: | 南方医科大学珠江医院 | 发明设计人: | 谢惠玲;李姣 | ||
| 所属领域: | |||||
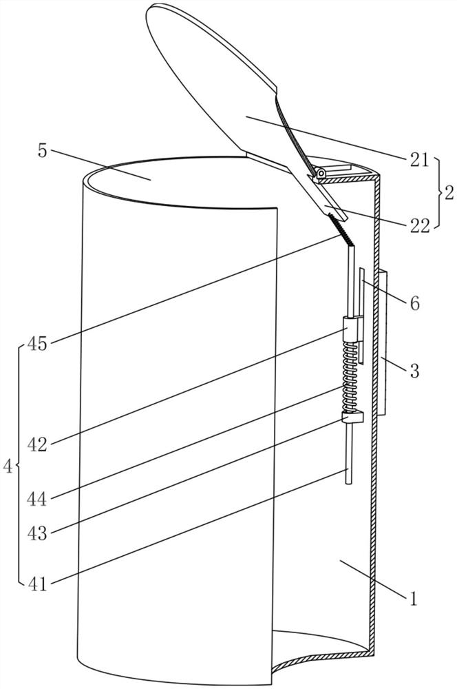
| 摘要: | 本实用新型公开了一种便携式带回弹盖设计的针灸针回收瓶,包括中空的瓶体,还包括回弹盖、可上下滑动的推块、可自动复位的牵引机构,其中,所述瓶体顶端开设有与回弹盖形状相适配的回收口且该瓶体侧壁上开设有条形口,所述牵引机构与推块分别设于瓶体的内外两侧,所述回弹盖与回收口转动连接且回弹盖、牵引机构、推块依次连接形成回弹盖可打开可自动闭合的结构。本实用新型具有使用方便、能够降低针刺伤风险等优点。 | ||||
| 补充信息 | |||||
| 转让方式: | 成熟度: | 预估价值: | |||
| 市场前景: | |||||