样品
成果详情
| 项目简介 | |||||
|---|---|---|---|---|---|
| 技术简介: | |||||
| 专利类型: | 实用新型 | 专利申请号: | CN202120969086.4 | 公开号: | CN214970590U | 
| 专利权人: | 南方医科大学南方医院 | 发明设计人: | 姜玉梅;姚志文;丁红;邓宇 | ||
| 所属领域: | |||||
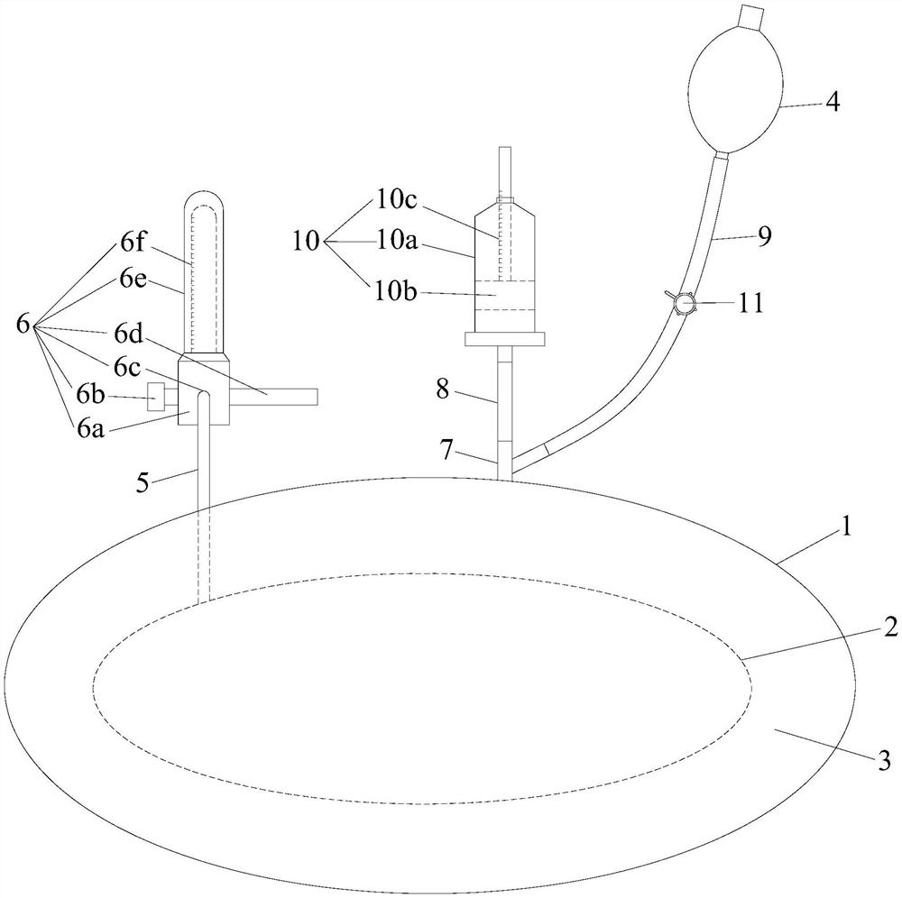
| 摘要: | 本实用新型公开了一种可调节流量的压力医用氧气袋,包括彼此独立的外袋和氧气袋,氧气袋位于外袋内且氧气袋和外袋之间形成加压腔,外袋连接有给加压腔加压的加压装置,氧气袋连接有贯穿伸出外袋的氧气管,氧气管的末端连接有流量调节计量器,流量调节计量器有一氧气输入接口和一氧气输出接口。本实用新型的可调节流量的压力医用氧气袋压力均衡,能促进氧气正常输出,达到氧疗目的,避免氧气浪费,还可根据患者病情调节氧流量大小及准确掌握患者吸入氧气的流量。 | ||||
| 补充信息 | |||||
| 转让方式: | 成熟度: | 预估价值: | |||
| 市场前景: | |||||