样品
成果详情
| 项目简介 | |||||
|---|---|---|---|---|---|
| 技术简介: | |||||
| 专利类型: | 实用新型 | 专利申请号: | CN202021408428.7 | 公开号: | CN213251975U |
| 专利权人: | 南方医科大学南方医院 | 发明设计人: | 陈娟 | ||
| 所属领域: | |||||
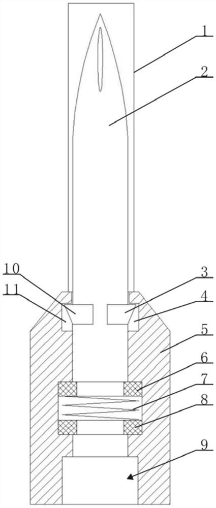
| 摘要: | 本实用新型涉及锐器分体式输液器,包括连接头,所述连接头的中心设有贯穿其顶部面和底部面的通孔,通孔的底部通过设置连接槽与输液管固定连接,连接头的中部设有腔体,腔体内分别设有第一密封圈和第二密封圈,第一密封圈和第二密封圈之间通过设置压缩弹簧进行连接,第一密封圈的顶部活动连接有瓶塞穿刺器,瓶塞穿刺器的两侧分别固定有第一限位块和第二限位块,所述连接头内壁上部的两侧分别开设有与第一限位块和第二限位块相适配的第一限位槽和第二限位槽,所述连接头的顶部面上分别开设有第一卡槽和第二卡槽;本实用新型实用性强,操作起来非常简单,便于输液完成后将瓶塞穿刺器与输液器分离并分类投放。 | ||||
| 补充信息 | |||||
| 转让方式: | 成熟度: | 预估价值: | |||
| 市场前景: | |||||