样品
成果详情
| 项目简介 | |||||
|---|---|---|---|---|---|
| 技术简介: | |||||
| 专利类型: | 发明 | 专利申请号: | CN202011236303.5 | 公开号: | CN112336932A |
| 专利权人: | 南方医科大学珠江医院 | 发明设计人: | 吕明花;李申恒;朱艳;杨绮璇;郑世清 | ||
| 所属领域: | |||||
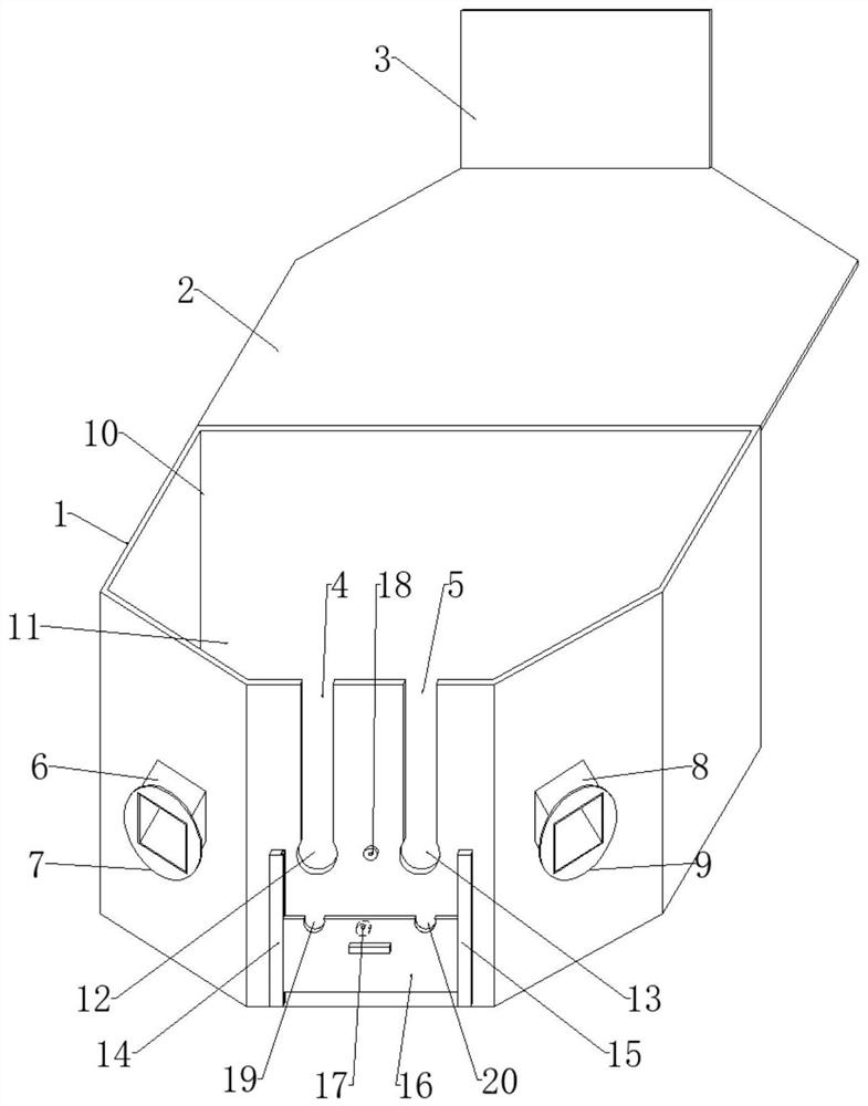
| 摘要: | 本发明公开了一种智能腹膜透析换液操作保护装置,透明盖板活动安装在透明操作框的上方,透明操作框内设有方形操作仓和梯形通路仓,方形操作仓的底部安装有紫外线杀菌消毒灯和操作台,梯形通路仓的前面板上设有第一方形竖槽和第二方形竖槽,第一方形竖槽的下方设有第一圆孔,第二方形竖槽的下方设有第二圆孔,透明推拉门通过自动升降机构安装在梯形通路仓的前面板下端,透明推拉门上设有与第一圆孔和第二圆孔相对应的第一半圆卡槽和第二半圆卡槽,梯形通路仓的两个侧面板上分别设有第一进手通道和第二进手通道,第一进手通道和第二进手通道上均设有手部密封机构。本发明结构简便、使用方便且费用低,能广泛应用在腹膜透析换液操作领域中。 | ||||
| 补充信息 | |||||
| 转让方式: | 成熟度: | 预估价值: | |||
| 市场前景: | |||||