样品
成果详情
| 项目简介 | |||||
|---|---|---|---|---|---|
| 技术简介: | |||||
| 专利类型: | 实用新型 | 专利申请号: | CN202023001837.8 | 公开号: | CN215306325U |
| 专利权人: | 南方医科大学南方医院 | 发明设计人: | 许波;李丹;朱清瑶;许重远;朱程宁;蒋琳 | ||
| 所属领域: | |||||
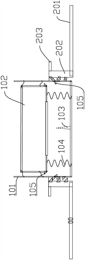
| 摘要: | 本实用新型公开了一种可按压的止血装置,其包括按压组件和固定带,按压组件包括外壳、储存格和穿刺部,储存格可上下移动地设置在外壳中,储存格的底部与外壳底部之间构成用于储存水的容腔,储存格用于储存制冷物质,穿刺部设置在外壳的底部,穿刺部用于刺破储存格的底部;固定带设置有用于安装按压组件的固定部,固定部设有用于安装按压组件的通孔。通过固定带将按压组件置于出血位置,按压组件中设计用于装制冷物质的储存格和用于装水的容腔,按压储存格,通过穿刺部将储存格刺破,使制冷物质和水反应制冷,加快止血,防止出现淤血。本实用新型可广泛应用于医疗器械技术领域。 | ||||
| 补充信息 | |||||
| 转让方式: | 成熟度: | 预估价值: | |||
| 市场前景: | |||||